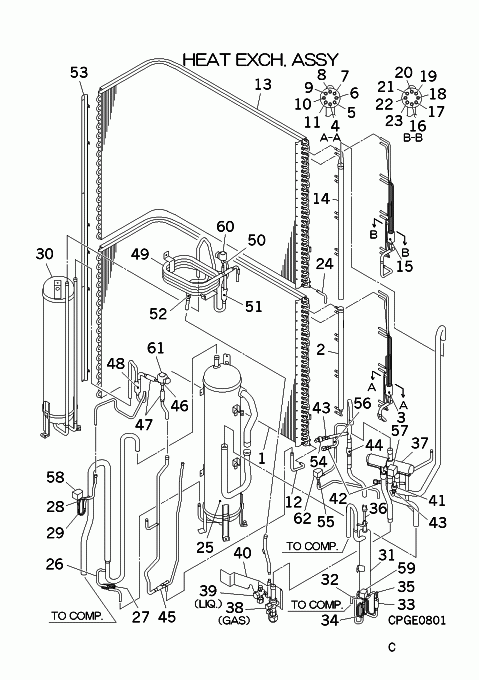
FDC335KXE6-L-HEAT-EXCH.-ASSY Published 10/10/2018 at 479 × 680 in FDC335KXE6-L-HEAT-EXCH.-ASSY ← Previous Next →