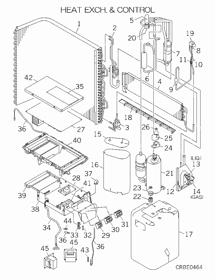
SRC80ZRA-W HEAT EXCH. AND CONTROL

SRC80ZRA-W HEAT EXCH. AND CONTROL

Parts List

Key:
Instock.
Nilstock.
Contact MRE.

Check the parts position number [ ] matching with the drawing. Login to view prices.

[1-3] In Stock
RCR301A202WA
HEAT EXCH ASSY AIR
Notes: Condenser Heat Exchanger Coil assembly
[2] Contact
RCR315D200
HEADER ASSY,GAS
Contact
[3] In Stock
RCR315A200A
DISTRIBUTOR ASSY
[4] In Stock
RCR301A206
HEAT EXCH ASSY(AIR)
Notes: Smaller Rectangular Heat exchanger - unit may have 2 heat exchangers
[5] In Stock
SSA382C098
VALVE S(4WAY)
Notes: 20S, reversing valve, body only Show Image
SSA382C098
[6] In Stock
RCR304A205
PIPING ASSY(DISCH)
[7] In Stock
AHT351A001
ACCUMULATOR
AHT351A001
[8] In Stock
SSA387F051
VALVE,BODY(EXP)
Notes: EEV, 'BODY' ONLY. Does NOT include coil
[8-11] In Stock
RCR304A201C
PIPING ASSY (EXPAN)
Notes: includes Expansion Valve body, Strainer, Shell Pipe & Capillary
[9] In Stock
SSA357A005A
STRAINER
SSA357A005A
[10] In Stock
RCN325A700
PIPE,SHELL
RCN325A700
[11] In Stock
RCV315B202A
CAPILLARY
Notes: D2.6xD4.0 L300, 2.6X4.0 L300/ LENGTH 8.3CM Show Image
RCV315B202A
[12] In Stock
RCR116A003
BRACKET(VALVE)
RCR116A003
[13] In Stock
RCR381A003B
VALVE,SERVICE(1/4")
Notes: LIQ., LIQUID LINE SERVICE VALVE - 1/4' - LIQ. Show Image
RCR381A003B
[14] In Stock
RCR381A004
VALVE,SERVICE(5/8)
Notes: GAS, 5/8" GAS (SUCTION)
[15] Contact
RPC154D903
INSULATION,COMP
Contact
Notes: COMP UPPER
[16] In Stock
RPC154D904
INSULATION,COMP
Notes: COMP BODY
[17] Contact
RCR154D213
INSULATION
Contact
[18] Contact
RCR454A200
GUIDE,DRAIN
Contact
[19] In Stock
SSA382F210L
COIL,SOLENOID (EEV)
Notes: FOR EEV, SOLENOID COIL FOR EEV (ELECTRONIC EXPANSION VALVE)
[20] In Stock
RSA382F013BC
COIL ASSY,SOLENOID
Notes: FOR 20S, REVERSING VALVE SOLENOID COIL / 4 WAY VALVE COIL - coil only
[21] In Stock
AHT201C184BA
COMPRESSOR ASSY
Notes: RMT5118SBE2, ***COMPRESSORS CANNOT BE RETURNED***
[22] In Stock
SSA941C351A
CUSHION,RUBBER
Notes: For Compressor - Sold individually
[23] In Stock
SSA914C013A
NUT,FLANGE
Notes: 1pc Show Image
SSA914C013A
[24] In Stock
RSA932C004
GASKET
RSA932C004
[25] In Stock
RSA947K005
COVER TERMINAL
Notes: FOR COMPRESSOR Show Image
RSA947K005
[26] In Stock
SSA914C016
NUT
Notes: 1pc Show Image
SSA914C016
[27] In Stock
RCR505A100L
PWB ASSY
Notes: PWB1, PWB1 - MAIN BOARD - ALSO INVERTER - includes Power Transitor Show Image
RCR505A100L
[28] In Stock
RCT505A304B
PWB, DRED
Notes: PWB2, Demand Response Enabling Device. Only required if wired-in on installation. FOR MORE INFORMATION DISCUSS WITH TECH SUPPORT
[29] In Stock
SSA561B665
BLOCK,TERMINAL
Notes: T1 Show Image
SSA561B665
[30] In Stock
SSA561B702B
BLOCK,TERMINAL
Notes: T2 Show Image
SSA561B702B
[31] In Stock
SSA561B733
BLOCK,TERMINAL
Notes: T3 Show Image
SSA561B733
[32] In Stock
SSA564A136A
FUSE(CURRENT)
Notes: 20A, F 20A‚  - 20 amp fuse Show Image
SSA564A136A
[33] In Stock
SSA564B088
FUSE HOLDER
SSA564B088
[34] In Stock
RCR504A048C
WIRING ASSY
Notes: FOR COMP., Wiring harness for compressor - LENGTH 76CM Show Image
RCR504A048C
[35] Contact
RCR011G201
LABEL,WIRING
Contact
[36] In Stock
SSA551A244
SENSOR ASSY
Notes: TH1,2,3, TH1,2,3 (3 SENSORS). CNTH. Show Image
SSA551A244
[37] In Stock
SSA554D173
CORE,FERRITE
[38] In Stock
RCR142A205A
BOX ASSY,CONTROL
[39] In Stock
RCR132A200
COVER,CONTROL
[40] In Stock
RCR142A202A
BOX,CONTROL
[41] In Stock
RWC129A004
BOX,CONTROL(DR)
RWC129A004
[42] In Stock
RCR142A207A
LID ASSY, CONTROL
[43] In Stock
RKF941F002
SPRING
Notes: LENGTH 2.8CM Show Image
RKF941F002
[44] In Stock
RCJ941F001
SPRING
Notes: LENGTH 2.5CM Show Image
RCJ941F001
[45] In Stock
SSA554B114
REACTOR
Notes: *** 1 PIECE ONLY. SOLD INDIVIDUALLY *** Show Image
SSA554B114
[46] Contact
RCR011F210C
LABEL,MODEL NAME
Contact
SKU: SRC80ZRA-W HEAT EXCH. AND CONTROL Category:
0
    0
    Your Cart
    Your cart is empty
      Calculate Shipping