Skip to content
info@mrespares.com.au
Phone:
+61 2 9600 7444
Register
Login
Shop Parts
Service Tools
Cart
info@mrespares.com.au
Phone:
+61 2 9600 7444
Register
Login
Shop Parts
Service Tools
Cart
Home
About
About MRE Spare Parts
Ordering Information
Terms of Trade
Privacy Policy
Delivery Policy
Returns
Feedback
Faq
Contact
Home
>
SRC60ZJX-S/C HEAT EXCH. AND CONTROL
PRINT
SRC60ZJX-S/C HEAT EXCH. AND CONTROL
SRC60ZJX-S/C HEAT EXCH. AND CONTROL
Parts List
Key:
Instock.
Nilstock.
Contact MRE.
Check the parts position number [ ] matching with the drawing.
Login
to view prices.
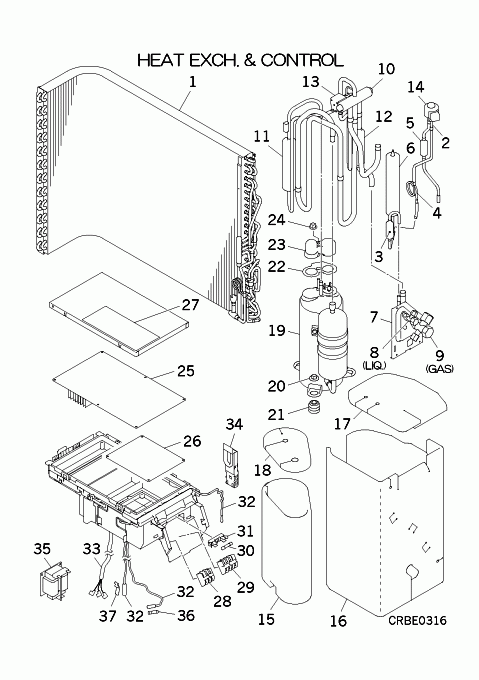
[1]
In Stock
RCT301A307
HEAT EXCH ASSY(AIR)
[2]
In Stock
SSA387F052
VALVE,BODY(EXP)
Notes:
EEV, EEV‚ - Expansion Valve Body - Body only
Show Image
[2-6]
Contact
RCT304A302D
PIPING ASSY(EXPAN)
Contact
[3]
In Stock
SSA357A005A
STRAINER
Show Image
[4]
In Stock
RCT315B002
CAPILLARY
Notes:
!D2.6XD4.0 L300, !D2.6XD4.0 L300‚ / LENGTH 8.6CM
Show Image
[5]
In Stock
RCN325A700
PIPE,SHELL
Show Image
[6]
Contact
RCM325A300D
PIPE,SHELL
Contact
[7]
In Stock
RCS116A004
BRACKET,VALVE
[8]
In Stock
RCS381A004B
SERVICE VALVE
Notes:
(1/4") LIQ.
Show Image
[9]
Out of Stock
RCT381A002
SERVICE VALVE
Substitute:
RCT381A002A
Notes:
VALVE,SERVICE (1/2") - GAS
Show Image
[10]
In Stock
SSA382C092
VALVE,S(4WAY)
Notes:
20S
Show Image
[11]
Contact
SSA325A001BD
MUFFLER
Contact
Substitute:
SSA325A001BH
[12]
Contact
SSA325A001CR
PIPE,SHELL
Contact
[13]
In Stock
RSA382F013L
COIL ASSY,SOLENOID
Notes:
FOR 20S, FOR 20S‚ (REVERSING VALVE)
Show Image
[14]
In Stock
SSA382F210AY
SOLENOID COIL (EEV)
Notes:
FOR EEV, Solenoid Coil for EEV
[15]
Contact
RCT154D300
INSULATION
Contact
[16]
Contact
RCT154D001D
INSULATION
Contact
[17]
Contact
RCT154D006A
INSULATION
Contact
[18]
Contact
RCT154D302
INSULATION,COMP
Contact
[19]
In Stock
AHT201C134CA
COMPRESSOR ASSY
Notes:
RMT5113MCE2, ***COMPRESSORS CANNOT BE RETURNED***
[20]
In Stock
SSA914C013A
NUT,FLANGE
Notes:
1pc
Show Image
[21]
In Stock
SSA941C346A
CUSHION,RUBBER
Notes:
1pc, FOR COMPRESSOR
Show Image
[22]
In Stock
RSA932C004
GASKET
Show Image
[23]
In Stock
RSA947K005
COVER TERMINAL
Notes:
FOR COMPRESSOR
Show Image
[24]
In Stock
SSA914C016
NUT
Notes:
1pc
Show Image
[25]
In Stock
RCT505A005SB
PWB ASSY (MAIN)
Show Image
[26]
In Stock
RCT505A004A
PWB ASSY(SUB)
Show Image
[27]
Contact
RCT011G002AB
LABEL,WIRING
Contact
[28]
In Stock
SSA561B665
BLOCK,TERMINAL
Notes:
T1
Show Image
[29]
In Stock
SSA561B702B
BLOCK,TERMINAL
Notes:
T2
Show Image
[30]
In Stock
SSA564A136A
FUSE(CURRENT)
Notes:
F 20A, F 20A‚ - 20 amp fuse
Show Image
[31]
In Stock
SSA564B088
FUSE HOLDER
Show Image
[32]
In Stock
SSA551A216L
SENSOR ASSY
Notes:
OUTDOOR SENSOR ASSEMBLY - 3 SENSORS ON 1 PLUG - TH1, TH2, TH3
Show Image
[33]
In Stock
RCV504A001
WIRING ASSY
Notes:
FOR COMP., WIRING HARNESS FOR COMPRESSOR
Show Image
[34]
In Stock
RCV129A001A
SENSOR HOLDER
Show Image
[35]
In Stock
SSA554B113
REACTOR
Show Image
[36]
In Stock
RKF941F002
SPRING
Notes:
FOR HEAT EXCH.PIPE SENSOR, LENGTH 2.8CM
Show Image
[37]
In Stock
RCJ941F001
SPRING
Notes:
FOR DISCHARGE PIPE SENSOR, LENGTH 2.5CM
Show Image
[38]
Contact
RWC011F014AL
LABEL,MODEL NAME
Contact
SRC60ZJX-S/C HEAT EXCH. AND CONTROL quantity
Add to cart
SKU:
SRC60ZJX-S/C HEAT EXCH. AND CONTROL
Category:
Uncategorised
Home
About
About MRE Spare Parts
Ordering Information
Terms of Trade
Privacy Policy
Delivery Policy
Returns
Feedback
Faq
Contact
Login
0
0
Your Cart
Your cart is empty
Calculate Shipping