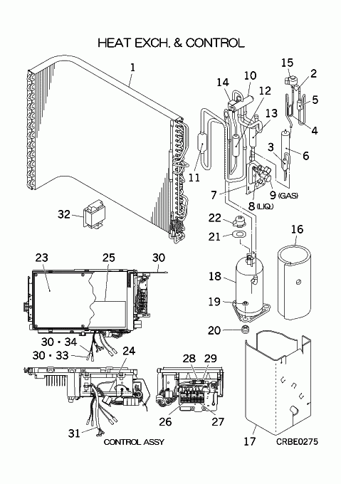
SRC50ZHX-S HEAT EXCH. AND CONTROL

SRC50ZHX-S HEAT EXCH. AND CONTROL

Parts List

Key:
Instock.
Nilstock.
Contact MRE.

Check the parts position number [ ] matching with the drawing. Login to view prices.

[] In Stock
RCT504A001
HARNESS ASSY
Notes: CNSUB-CNMAIN, CNMAIN TO CNSUB - 4 black wires with white plug Show Image
RCT504A001
[1] In Stock
RCT301A003A
HEAT EXCH
[2] In Stock
SSA387F052
VALVE,BODY(EXP)
Notes: EEV, EEV‚  - Expansion Valve Body - Body only Show Image
SSA387F052
[2-6] Contact
RCT304A011
PIPING ASSY(EXPAN)
Contact
[3] In Stock
SSA357A005A
STRAINER
SSA357A005A
[4] Contact
RCN315B001
CAPILLARY,SUB
Contact
Notes: !D2.6XD4.0 L300
[5] In Stock
RCN325A700
PIPE,SHELL
RCN325A700
[6] Contact
RCM325A300D
PIPE,SHELL
Contact
[7] In Stock
RCS116A004
BRACKET,VALVE
[8] In Stock
RCS381A004B
SERVICE VALVE
Notes: LIQ., (1/4") LIQ. Show Image
RCS381A004B
[9] Out of Stock
RCT381A002
SERVICE VALVE
Substitute: RCT381A002A Notes: GAS, VALVE,SERVICE (1/2") - GAS Show Image
RCT381A002
[10] Out of Stock
SSA382C068
4 WAY VALVE
Notes: 20S, 20S - REVERSING VALVE BODY - (NOT COIL) Show Image
SSA382C068
[11] In Stock
SSA357A039
STRAINER
SSA357A039
[12] Contact
SSA325A001CA
PIPE,SHELL
Contact
[13] Contact
SSA325A001CR
PIPE,SHELL
Contact
[14] In Stock
RSA382F013B
COIL ASSY,SOLENOID
Notes: FOR 20S
[15] In Stock
SSA382F210AY
SOLENOID COIL (EEV)
Notes: FOR EEV, Solenoid Coil for EEV
[16] Contact
RCT154D003
INSULATION,COMP
Contact
[17] Contact
RCT154D001
INSULATION
Contact
[18] In Stock
RSA201A032
COMPRESSOR
Notes: ***COMPRESSORS CANNOT BE RETURNED***
[19] In Stock
SSA914C013A
NUT,FLANGE
Notes: 1pc Show Image
SSA914C013A
[20] Out of Stock
SSA941C267
RUBBER
[21] Contact
RSA932C008
GASKET,COVER
Contact
[22] Contact
RSA947K008
COVER,TERMINAL
Contact
[23] In Stock
RCT505A005MA
PWB (MAIN)
Notes: PWB1- MAIN Show Image
RCT505A005MA
[24] In Stock
RCT505A004
PWB (SUB)
Notes: SUB PWB. ***CONFIRM MODEL/SERVICE CODE*** Show Image
RCT505A004
[25] Contact
RCT011G002A
LABEL,WIRING
Contact
[26] In Stock
SSA561B665
BLOCK,TERMINAL
Notes: T1 Show Image
SSA561B665
[27] In Stock
SSA561B702B
BLOCK,TERMINAL
Notes: T2 Show Image
SSA561B702B
[28] In Stock
SSA564A136A
FUSE(CURRENT)
Notes: 20A, F 20A‚  - 20 amp fuse Show Image
SSA564A136A
[29] In Stock
SSA564B044
HOLDER, FUSE
SSA564B044
[30] In Stock
SSA551A239
SENSOR ASSY
Notes: TH1,TH2,TH3 Show Image
SSA551A239
[31] In Stock
RCT504A003
WIRING ASSY
Notes: FOR COMP. Show Image
RCT504A003
[32] In Stock
SSA554B113
REACTOR
SSA554B113
[33] In Stock
RKF941F002
SPRING
Notes: LENGTH 2.8CM Show Image
RKF941F002
[34] In Stock
RCJ941F001
SPRING
Notes: LENGTH 2.5CM Show Image
RCJ941F001
[35] Contact
RWC011F014A
LABEL,MODEL NAME
Contact
SKU: SRC50ZHX-S HEAT EXCH. AND CONTROL Category:
0
    0
    Your Cart
    Your cart is empty
      Calculate Shipping