SRC40HG-S HEAT EXCH. AND CONTROL

SRC40HG-S HEAT EXCH. AND CONTROL

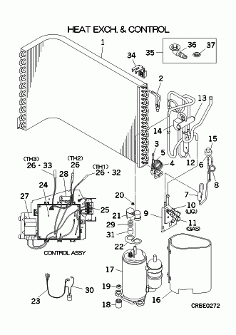
Parts List

Key:
Instock.
Nilstock.
Contact MRE.

Check the parts position number [ ] matching with the drawing. Login to view prices.

[1-5] Contact
RCS301A103
Contact
[2] Contact
RCS321A077
Contact
[3-5] Contact
RCS321A080
Contact
[4] Contact
RCS315B006
CAPILLARY
Contact
Notes: !D2.6XD4.0 L500
[5] Contact
RCS315B006A
CAPILLARY
Contact
Notes: !D2.6XD4.0 L500
[6] In Stock
SSA387F051
VALVE,BODY(EXP)
Notes: EEV, 'BODY' ONLY. Does NOT include coil
[6-8] Contact
RCS304A030
Contact
[7] In Stock
SSA357A005A
STRAINER
SSA357A005A
[8] Contact
RCS315B026
Contact
Notes: !D2.6XD4.0 L300
[9] In Stock
RCS116A004
BRACKET,VALVE
[10] Contact
RCS381A004
VALVE,SERVICE(1/4"
Contact
Notes: LIQ.
[11] Contact
RCS381A003B
Contact
Notes: GAS
[12] Contact
RCD325A700
PIPE,SHELL
Contact
[13] Out of Stock
SSA382C068
4 WAY VALVE
Notes: 20S, 20S - REVERSING VALVE BODY - (NOT COIL) Show Image
SSA382C068
[14] In Stock
RSA382F013G
COIL ASSY,SOLENOID
Notes: FOR 20S Show Image
RSA382F013G
[15] In Stock
SSA382F210C
COIL,SOLENOID
Notes: FOR EEV, FOR EEVA - 5 WIRES - WHITE PLUG/ LENGTH 56CM Show Image
SSA382F210C
[16] Contact
RCS154D013
Contact
[17] Contact
RSA201A006A
Contact
[18] Out of Stock
SSA941C114A
CUSHION RUB
[19] In Stock
SSA914C033
NUT
Notes: 1pc
[20] In Stock
SSA914C016
NUT
Notes: 1pc Show Image
SSA914C016
[21] In Stock
RSA947K005
COVER TERMINAL
Notes: FOR COMPRESSOR Show Image
RSA947K005
[22] In Stock
RSA932C004
GASKET
RSA932C004
[23] In Stock
RCP504A500A
HARNESS
Notes: FOR COMP., LENGTH 65.5CM Show Image
RCP504A500A
[24] In Stock
RCR505A025J
PWB ASSY
RCR505A025J
[25] In Stock
SSA561B702B
BLOCK,TERMINAL
Notes: T, T2 Show Image
SSA561B702B
[26] In Stock
SSA551A216C
SENSOR ASSY
SSA551A216C
[27] In Stock
SSA552A843B
CAPACITOR,RUNNING
Notes: CC 30MF 400VAC, CFO 30MF 400VAC Show Image
SSA552A843B
[28] In Stock
SSA552A842A
CAPACITOR,RUNNING
Notes: CFO 2.5MF 450VAC Show Image
SSA552A842A
[29] In Stock
AHA941D003
SPRING (PROTECTOR)
AHA941D003
[30] In Stock
RCP504A504A
HARNESS ASSY
Notes: LENGTH 13CM Show Image
RCP504A504A
[31] Contact
RSA533B008
Contact
[32] In Stock
RKF941F002
SPRING
Notes: FOR TOPL, LENGTH 2.8CM Show Image
RKF941F002
[33] In Stock
RCJ941F001
SPRING
Notes: FOR TD, LENGTH 2.5CM Show Image
RCJ941F001
[34] Contact
RCS129A001
HOLDER,SENSOR
Contact
[35] Contact
RPC008A601B
PARTS,STANDARD(B)
Contact
Notes: !
[36] In Stock
RPC008A601
DRAIN KIT
Notes: ***CUSTOMER TO INFORM QUANTITY REQUIRED*** DRAIN KIT COMES WITH 1x ELBOW, 2x GROMMETS.
[37] In Stock
SSA947A089
GROMMET
Notes: D20.1, SSA422A024 ELBOW Show Image
SSA947A089
[38] Contact
RWC011F011B
Contact
SKU: SRC40HG-S HEAT EXCH. AND CONTROL Category:
0
    0
    Your Cart
    Your cart is empty
      Calculate Shipping