SKM222HENG-A HEAT EXCH. AND CONTROL

SKM222HENG-A HEAT EXCH. AND CONTROL

Parts List

Key:
Instock.
Nilstock.
Contact MRE.

Check the parts position number [ ] matching with the drawing. Login to view prices.

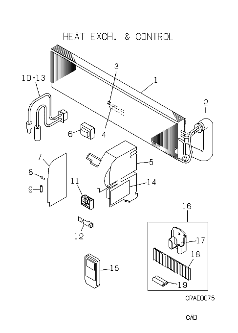
[1] Contact
RKS311A500
HEAT EXCH
Contact
[1-4] Contact
RKS301A500
HEAT EXCH
Contact
Substitute: RKS301A500B
[2-4] Contact
RKS321A500
P I P E
Contact
[3] Contact
SSA323F006
UNION
Contact
[4] Contact
SSA323F006A
UNION
Contact
[5] Contact
RKS142A500
BOX CONT
Contact
[6] In Stock
SSA554A285B
TRANSFORMER
SSA554A285B
[7-9] Out of Stock
RKS505A510AC
PWB ASSY
Substitute: OUT OF PRODUCTION Notes: OUT OF PRODUCTION Show Image
RKS505A510AC
[8] In Stock
SSA555B003A
VARISTOR
SSA555B003A
[9] In Stock
SSA564A132
FUSE(CURRENT)¯¿½
Notes: 3.15A Show Image
SSA564A132
[10] In Stock
SSA551A163H
SENSOR
Notes: INCL.SENSOR(ROOM TEMP.& HEAT EXCH.), INCL.SENSOR (ROOM TEMP.& HEAT EXCH.) Show Image
SSA551A163H
[11] Contact
SSA561B211B
BLOCK,TERMI
Contact
Substitute: SSA561B665A Notes: TB2
[12] Out of Stock
RKS505A511
PWB DISPLAY
Substitute: OUT OF PRODUCTION Notes: OUT OF PRODUCTION - PLUGS STRAIGHT INTO MAIN PCB - NO HARNESS
[13] Out of Stock
RKJ941F001
SPRING LEAF
Substitute: PSA941F001 Notes: FOR THI-R Show Image
RKJ941F001
[14] Contact
RKS011G500F
LABEL,WIRING
Contact
[15] In Stock
RKS502A503
REMOTE CONTROL
RKS502A503
[16] Contact
RKS008A500V
PARTS SET
Contact
[17] In Stock
RKN032A002A
PLATE REMOC
RKN032A002A
[18] Out of Stock
RKR437A201
FILTER,CLEAN
Substitute: OUT OF PRODUCTION Notes: 1pc ONLY
[19] Contact
RKH549A500B
BATTERY
Contact
[20] Contact
RSA011F285V
LABEL,MODEL NAME
Contact
SKU: SKM222HENG-A HEAT EXCH. AND CONTROL Category:
0
    0
    Your Cart
    Your cart is empty
      Calculate Shipping