Skip to content
info@mrespares.com.au
Phone:
+61 2 9600 7444
Register
Login
Shop Parts
Service Tools
Cart
info@mrespares.com.au
Phone:
+61 2 9600 7444
Register
Login
Shop Parts
Service Tools
Cart
Home
About
About MRE Spare Parts
Ordering Information
Terms of Trade
Privacy Policy
Delivery Policy
Returns
Feedback
Faq
Contact
Home
>
SCM80ZJ-S1/C HEAT EXCH. AND CONTROL
PRINT
SCM80ZJ-S1/C HEAT EXCH. AND CONTROL
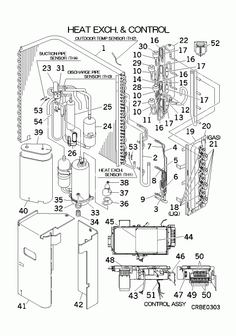
SCM80ZJ-S1/C HEAT EXCH. AND CONTROL
Parts List
Key:
Instock.
Nilstock.
Contact MRE.
Check the parts position number [ ] matching with the drawing.
Login
to view prices.
[]
In Stock
RPC504A916
HARNESS
Notes:
MAIN PWB - SUB PWB (CNMAIN - CNSUB)
[1-9]
In Stock
RPC301A901
HEAT EXCH ASSY(AIR
[2]
Contact
RPC315D904
HEADER ASSY,GAS
Contact
Notes:
Not suitable for this model
[3]
Contact
RSA315A005
DISTRIBUTOR
Contact
Notes:
Not suitable for this model
[3-9]
In Stock
RPC315A900A
DISTRIBUTOR ASSY
[4]
Contact
RPC315B911
CAPILLARY(1)
Contact
Notes:
!D2.6XD4.0 L400
[5]
Contact
RPC315B912
CAPILLARY(2)
Contact
Notes:
!D2.6XD4.0 L500
[6]
Contact
RPC315B919
CAPILLARY(3)
Contact
Notes:
!D2.6XD4.0 L500
[7]
Contact
RPC315B914
CAPILLARY(4)
Contact
Notes:
!D2.6XD4.0 L400
[8]
Contact
RPC315B915
CAPILLARY(5)
Contact
Notes:
!D2.6XD4.0 L500
[9]
Contact
RPC315B920
CAPILLARY(6)
Contact
Notes:
!D2.6XD4.0 L500
[10]
In Stock
SSA387F051
VALVE,BODY(EXP)
Notes:
EEVA,EEVB,EEVC,EEVD, 'BODY' ONLY. Does NOT include coil
[10-18]
In Stock
RPC304A916
PIPING ASSY(SM)
[11]
Contact
RSA315A004
DISTRIBUTOR
Contact
Notes:
Not suitable for this model
[11-15]
Contact
RPC315A902
DISTRIBUTOR ASSY
Contact
[12]
Contact
RPC315B922
CAPILLARY(1)
Contact
Notes:
!D2.6XD4.0 L200
[13]
Contact
RPC315B923
CAPILLARY(2)
Contact
Notes:
!D2.6XD4.0 L200
[14]
Contact
RPC315B921
CAPILLARY(3)
Contact
Notes:
!D2.6XD4.0 L200
[15]
Contact
RPC315B924
CAPILLARY(4)
Contact
Notes:
!D2.6XD4.0 L200
[16]
Contact
RCN315B001
CAPILLARY,SUB
Contact
Notes:
!D2.6XD4.0 L300
[17]
In Stock
SSA357A005A
STRAINER
Notes:
Not suitable for this model
Show Image
[18]
In Stock
RPC381A900A
VALVE,SERVICE(1/4"
[19]
Contact
RPC116A900
BRACKET ASSY(VALVE
Contact
[20]
Contact
RPC116A904
BRACKET ASSY(VALVE
Contact
[21]
In Stock
RPC381A854B
VALVE,SERVICE(3/8"
Notes:
LENGTH 7.5CM
Show Image
[22]
Contact
RPC352D904
RECEIVER ASSY
Contact
[23]
Out of Stock
SSA382C068
4 WAY VALVE
Notes:
20S, 20S - REVERSING VALVE BODY - (NOT COIL)
Show Image
[24]
In Stock
RSA351A004
ACCUMULATOR ASSY
[25]
Contact
RPC354A903
SEPARATOR ASSY,OIL
Contact
[25-26]
Contact
RPC304A923
PIPING ASSY(DISCH)
Contact
[26]
Contact
RPC315B926
CAPILLARY
Contact
Notes:
!D1.0XD2.0 L1000
[27]
In Stock
SSA382F210C
COIL,SOLENOID
Notes:
FOR EEVA, FOR EEVA - 5 WIRES - WHITE PLUG/ LENGTH 56CM
Show Image
[28]
In Stock
SSA382F210D
COIL,SOLENOID
Notes:
FOR EEVB, FOR EEVB - 5 WIRES - RED PLUG
Show Image
[29]
In Stock
SSA382F210BC
COIL,SOLENOID
Notes:
FOR EEVC, FOR EEVC‚ (BLUE PLUG)
[30]
In Stock
SSA382F210BD
COIL,SOLENOID
Notes:
FOR EEVD
[31]
In Stock
RPC382F900
COIL ASSY, SOLENOID
Notes:
FOR 20S, REVERSING VALVE SOLENOID COIL
Show Image
[32]
In Stock
AHT201C184DA
COMPRESSOR ASSY
Notes:
RMT5118MDE2, ***COMPRESSORS CANNOT BE RETURNED*** (RMT5118MDE2)
[33]
In Stock
SSA914C013A
NUT,FLANGE
Notes:
1pc
Show Image
[34]
In Stock
SSA941C351A
CUSHION,RUBBER
Notes:
For Compressor - Sold individually
[35]
In Stock
RPC541B001D
HEATER ASSY(CRANK)
Show Image
[36]
In Stock
RSA932C004
GASKET
Show Image
[37]
In Stock
RSA947K005
COVER TERMINAL
Notes:
FOR COMPRESSOR
Show Image
[38]
In Stock
SSA914C016
NUT
Notes:
1pc
Show Image
[39]
Contact
RPC154D903
INSULATION,COMP
Contact
Notes:
COMP UPPER
[40]
In Stock
RPC154D904
INSULATION,COMP
Notes:
COMP BODY
[41]
Contact
RPC154D900
INSULATION
Contact
Notes:
OUTSIDE
[42]
Contact
RPC154D901
INSULATION
Contact
Notes:
OUTSIDE
[43]
In Stock
RPC504A912
WIRING ASSY
Notes:
FOR COMP.
Show Image
[44]
In Stock
RCT505A005JG
PWB ASSY (MAIN)
Notes:
PWB1, Top Board - ****CONFIRM SERVICE CODE****
[45]
In Stock
RCT505A006AH
PWB ASSY (SUB)
Notes:
PWB2, PLUGS INTO EEV's, TERMINAL BLOCK(POWER & INDOOR UNITS), HEATER
[46]
In Stock
SSA564A136A
FUSE(CURRENT)
Notes:
F 20A, F 20A‚ - 20 amp fuse
Show Image
[47]
In Stock
SSA564B088
FUSE HOLDER
Show Image
[48]
In Stock
RPC142A906
LID ASSY,CONTROL
[49]
In Stock
SSA561B665
BLOCK,TERMINAL
Notes:
T1
Show Image
[50]
In Stock
SSA561B702B
BLOCK,TERMINAL
Notes:
T2,3,4,5, T2
Show Image
[51]
In Stock
SSA551A232C
SENSOR ASSY
Notes:
TH1,2,3,4, 3 SENSORS ON 1 PLUG, 1 SENSOR ON OTHER PLUG.
Show Image
[52]
In Stock
SSA554B113
REACTOR
Show Image
[53]
Out of Stock
RKJ941F001
SPRING LEAF
Substitute:
PSA941F001
Notes:
FOR TH1,4
Show Image
[54]
In Stock
RCJ941F001
SPRING
Notes:
FOR TH3, LENGTH 2.5CM
Show Image
[55]
Contact
RWC011F017AB
LABEL,MODEL NAME
Contact
Notes:
Not suitable for this model
SCM80ZJ-S1/C HEAT EXCH. AND CONTROL quantity
Add to cart
SKU:
SCM80ZJ-S1/C HEAT EXCH. AND CONTROL
Category:
Uncategorised
Home
About
About MRE Spare Parts
Ordering Information
Terms of Trade
Privacy Policy
Delivery Policy
Returns
Feedback
Faq
Contact
Login
0
0
Your Cart
Your cart is empty
Calculate Shipping