SCM60ZM-S HEAT EXCH. AND CONTROL

SCM60ZM-S HEAT EXCH. AND CONTROL

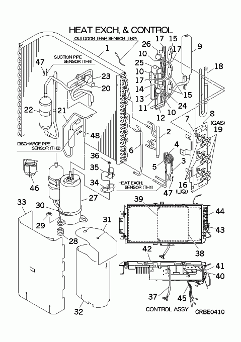
Parts List

Key:
Instock.
Nilstock.
Contact MRE.

Check the parts position number [ ] matching with the drawing. Login to view prices.

[] In Stock
RPC504A916
HARNESS
Notes: MAIN PWB - SUB PWB (CNMAIN - CNSUB)
[1-6] In Stock
RPC301A858
HEAT EXCH ASSY(AIR
[2] Contact
RPC315D863
HEADER ASSY,GAS
Contact
[3-5] Contact
RPC321B047A
PIPE ASSY
Contact
[4] Contact
RPC315B870
CAPILLARY
Contact
Notes: !D2.6XD4.0 L500
[5] Contact
RPC315B871
CAPILLARY
Contact
Notes: !D2.6XD4.0 L500
[6] Contact
RPC321A890
PIPE ASSY
Contact
Notes: !
[7] Contact
RPC116A870
BRACKET ASSY(VALVE
Contact
[8] Contact
RPC116A871
BRACKET ASSY(VALVE
Contact
[9] Contact
RPC352D860
RECEIVER ASSY
Contact
[10] In Stock
SSA387F051
VALVE,BODY(EXP)
Notes: EEV, 'BODY' ONLY. Does NOT include coil
[10-17] Contact
RPC304A924
PIPING ASSY(EXPAN)
Contact
[11] In Stock
SSA315A252B
DISTRIBUTOR
SSA315A252B
[11-14] In Stock
RPC315A850
DISTRIBUTOR ASSY
RPC315A850
[12] Contact
RPC315B856
CAPILLARY,SUB(A)
Contact
Notes: !D2.6XD4.0 L300
[13] Contact
RPC315B857
CAPILLARY,SUB(B)
Contact
Notes: !D2.6XD4.0 L300
[14] Contact
RPC315B858
CAPILLARY,SUB(C)
Contact
Notes: !D2.6XD4.0 L300
[15] In Stock
SSA357A005A
STRAINER
SSA357A005A
[16] In Stock
RPC381A852C
VALVE SERVICE (1/4
Notes: LIQ. Show Image
RPC381A852C
[17] Contact
RCN315B001
CAPILLARY,SUB
Contact
Notes: !D2.6XD4.0 L300
[18-19] Contact
RPC315D865
HEADER ASSY,GAS
Contact
[19] In Stock
RPC381A854B
VALVE,SERVICE(3/8"
Notes: GAS, LENGTH 7.5CM Show Image
RPC381A854B
[20] In Stock
SSA382C098
VALVE S(4WAY)
Notes: 20S, reversing valve, body only Show Image
SSA382C098
[21] Contact
RPC304A920
PIPING ASSY(DISCH)
Contact
[22] In Stock
AHT351A001
ACCUMULATOR
AHT351A001
[23] In Stock
RSA382F013BA
COIL ASSY,SOLENOID
Notes: FOR 20S Show Image
RSA382F013BA
[24] In Stock
SSA382F210C
COIL,SOLENOID
Notes: FOR EEV, FOR EEVA - 5 WIRES - WHITE PLUG/ LENGTH 56CM Show Image
SSA382F210C
[25] In Stock
SSA382F210D
COIL,SOLENOID
Notes: FOR EEVB, FOR EEVB - 5 WIRES - RED PLUG Show Image
SSA382F210D
[26] In Stock
SSA382F210BC
COIL,SOLENOID
Notes: FOR EEVC, FOR EEVC‚  (BLUE PLUG)
[27] In Stock
AHT201C184DA
COMPRESSOR ASSY
Notes: RMT5118MDE2, ***COMPRESSORS CANNOT BE RETURNED*** (RMT5118MDE2)
[28] In Stock
SSA941C346
CUSHION,RUBBER
[29] In Stock
SSA914C013A
NUT,FLANGE
Notes: 1pc Show Image
SSA914C013A
[30] Out of Stock
RPC541B001F
HEATER ASSY(CRANK)
[31] Contact
RPC154D872
INSULATION,COMP
Contact
Notes: COMP UPPER
[32] Contact
RPC154D873A
INSULATION,COMP
Contact
Notes: COMP BODY
[33] Contact
RPC154D851A
INSULATION
Contact
Notes: OUTSIDE
[34] In Stock
RSA932C004
GASKET
RSA932C004
[35] In Stock
RSA947K005
COVER TERMINAL
Notes: FOR COMPRESSOR Show Image
RSA947K005
[36] In Stock
SSA914C016
NUT
Notes: 1pc Show Image
SSA914C016
[37] In Stock
RPC504A912
WIRING ASSY
Notes: FOR COMP. Show Image
RPC504A912
[38] In Stock
RCT505A005JH
PWB ASSY (MAIN)
Notes: PWB1 Show Image
RCT505A005JH
[39] In Stock
RCT505A006AF
PWB (SUB)
Notes: PWB2
[40] In Stock
SSA564A136A
FUSE(CURRENT)
Notes: 20A, F 20A‚  - 20 amp fuse Show Image
SSA564A136A
[41] In Stock
SSA564B088
FUSE HOLDER
SSA564B088
[42] In Stock
RPC142A906
LID ASSY,CONTROL
[43] In Stock
SSA561B665
BLOCK,TERMINAL
Notes: T1 Show Image
SSA561B665
[44] In Stock
SSA561B699
BLOCK TERMI
Notes: T2
[45] In Stock
SSA551A232D
SENSOR ASSY
Notes: TH1,2,3,4 Show Image
SSA551A232D
[46] In Stock
SSA554B113
REACTOR
SSA554B113
[47] Out of Stock
RKJ941F001
SPRING LEAF
Substitute: PSA941F001 Show Image
RKJ941F001
[48] In Stock
RCJ941F001
SPRING
Notes: LENGTH 2.5CM Show Image
RCJ941F001
[49] Contact
RWC011F017BD
LABEL,MODEL NAME
Contact
SKU: SCM60ZM-S HEAT EXCH. AND CONTROL Category:
0
    0
    Your Cart
    Your cart is empty
      Calculate Shipping