Skip to content
info@mrespares.com.au
Phone:
+61 2 9600 7444
Register
Login
Shop Parts
Service Tools
Cart
info@mrespares.com.au
Phone:
+61 2 9600 7444
Register
Login
Shop Parts
Service Tools
Cart
Home
About
About MRE Spare Parts
Ordering Information
Terms of Trade
Privacy Policy
Delivery Policy
Returns
Feedback
Faq
Contact
Home
>
PFD112X4-ER CONTROL
PRINT
PFD112X4-ER CONTROL
PFD112X4-ER CONTROL
Parts List
Key:
Instock.
Nilstock.
Contact MRE.
Check the parts position number [ ] matching with the drawing.
Login
to view prices.
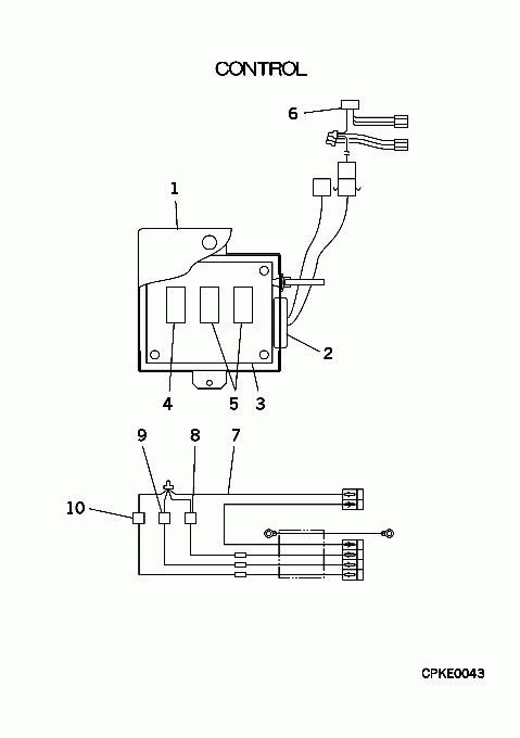
[1]
Contact
PJZ142A022
COVER
Contact
Notes:
!
[1-6]
In Stock
PCB006A083
PARTS SET
Notes:
Includes Cover, Grommet, PWB ASSY, x2 Relays & Wiring harness - for PFD BOX
[2]
Contact
S751W20X
GROMMET
Contact
Notes:
!D25
[3-5]
Contact
PCB505A054
PWB ASSY
Contact
Notes:
!
[4]
Contact
SSA521A418
RELAY
Contact
Notes:
!X1
[5]
Contact
SSA521A420
RELAY
Contact
Notes:
!X2,3
[6]
Contact
PCB504A248
WIRING ASSY
Contact
Notes:
!
[7-10]
Contact
PCB504A281
WIRING ASSY
Contact
[8]
In Stock
SSA382F034B
COIL, SOLENOID
Notes:
!20S, 20S
Show Image
[9]
In Stock
SSA382F150B
COIL, SOLENOID
Notes:
!SVG, LENGTH 70CM
Show Image
[10]
In Stock
SSA382F438D
COIL SOLENOID
Notes:
!SVH, SVH
Show Image
PFD112X4-ER CONTROL quantity
Add to cart
SKU:
PFD112X4-ER CONTROL
Category:
Uncategorised
Home
About
About MRE Spare Parts
Ordering Information
Terms of Trade
Privacy Policy
Delivery Policy
Returns
Feedback
Faq
Contact
Login
0
0
Your Cart
Your cart is empty
Calculate Shipping