PFD112-ER CONTROL

PFD112-ER CONTROL

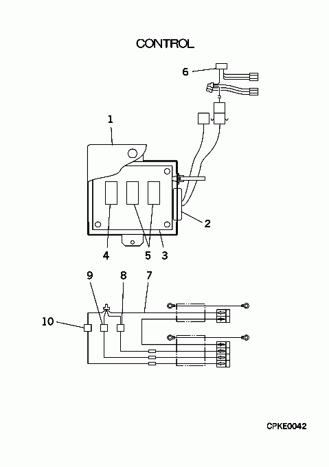
Parts List

Key:
Instock.
Nilstock.
Contact MRE.

Check the parts position number [ ] matching with the drawing. Login to view prices.

[1] Contact
PJZ142A022
COVER
Contact
Notes: !
[1-6] In Stock
PCB006A083
PARTS SET
Notes: Includes Cover, Grommet, PWB ASSY, x2 Relays & Wiring harness - for PFD BOX
[2] Contact
S751W20X
GROMMET
Contact
Notes: !D25
[3-5] Contact
PCB505A054
PWB ASSY
Contact
Notes: !
[4] Contact
SSA521A418
RELAY
Contact
Notes: !X1
[5] Contact
SSA521A420
RELAY
Contact
Notes: !X2,3
[6] Contact
PCB504A248
WIRING ASSY
Contact
Notes: !
[7-10] In Stock
PCB504A276AA
WIRING ASSY
PCB504A276AA
[8] In Stock
SSA382F034B
COIL, SOLENOID
Notes: !20S, 20S Show Image
SSA382F034B
[9] In Stock
SSA382F150B
COIL, SOLENOID
Notes: !SVG, LENGTH 70CM Show Image
SSA382F150B
[10] In Stock
SSA382F438D
COIL SOLENOID
Notes: !SVH, SVH Show Image
SSA382F438D
SKU: PFD112-ER CONTROL Category:
0
    0
    Your Cart
    Your cart is empty
      Calculate Shipping