Skip to content
info@mrespares.com.au
Phone:
+61 2 9600 7444
Register
Login
Shop Parts
Service Tools
Cart
info@mrespares.com.au
Phone:
+61 2 9600 7444
Register
Login
Shop Parts
Service Tools
Cart
Home
About
About MRE Spare Parts
Ordering Information
Terms of Trade
Privacy Policy
Delivery Policy
Returns
Feedback
Faq
Contact
Home
>
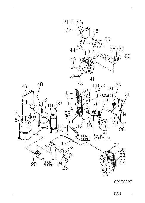
GHCP560HMTE4 PIPING
PRINT
GHCP560HMTE4 PIPING
GHCP560HMTE4 PIPING
Parts List
Key:
Instock.
Nilstock.
Contact MRE.
Check the parts position number [ ] matching with the drawing.
Login
to view prices.
[1]
Contact
SSA382C049
4WAY VALVE
Contact
Notes:
OUT OF PRODUCTION, 20S
[2]
Contact
SSA382A061
VALVE 2WAY
Contact
Notes:
OUT OF PRODUCTION, SV2
[3]
Contact
SSA382A025
VALVE,2WAY
Contact
Substitute:
RC08689
Notes:
OUT OF PRODUCTION
[4]
In Stock
SSA382A070
VALVE 2WAY
Notes:
OUT OF PRODUCTION, DOES NOT COME WITH "STRAINER"
Show Image
[5]
Out of Stock
SSA327B059
VALVE SERVI
Notes:
OUT OF PRODUCTION
[6]
Contact
SSA327B059A
VALVE,SERVICE
Contact
Notes:
OUT OF PRODUCTION
[7]
In Stock
SSA532A032CF
SWITCH H P
Notes:
OUT OF PRODUCTION, 63H1, 63H1-1,2
Show Image
[8]
Contact
SSA351A180F
ACCLMULATOR
Contact
Notes:
OUT OF PRODUCTION, FRONT
[9]
Contact
SSA351A179B
ACCLMULATOR
Contact
Notes:
OUT OF PRODUCTION, REAR
[10]
Contact
SSA352A089
RECEIVER AS
Contact
Notes:
OUT OF PRODUCTION
[11]
Contact
SSA354A037
SEPARATOR
Contact
Notes:
OUT OF PRODUCTION
[12]
In Stock
SSA357A059B
STRAINER
Notes:
OUT OF PRODUCTION
[12-13]
Contact
PCL321A459B
PIPE
Contact
Notes:
OUT OF PRODUCTION
[13]
Contact
PCL315B075B
CAPILLARY
Contact
Notes:
OUT OF PRODUCTION, !D1.8XD3.2 L500
[14]
Out of Stock
SSA381A721
VALVE SERVI
Notes:
OUT OF PRODUCTION
[15]
Contact
SSA381A726
VALVE SERVI
Contact
Notes:
OUT OF PRODUCTION, GAS
[16]
Contact
PCL116A264A
BRACKET(S,V)
Contact
Notes:
OUT OF PRODUCTION
[17]
Contact
PCL315B076
CAPILLARY
Contact
Notes:
OUT OF PRODUCTION, !D2.0XD3.2 L350, !D2.0XD3.2 L350
[18]
Contact
PCL321A450B
PIPE ASSY
Contact
Notes:
OUT OF PRODUCTION
[19]
Contact
PCL321A446
PIPE ASSY
Contact
Notes:
OUT OF PRODUCTION
[20]
In Stock
SSA385A015
VALVE CHECK
Notes:
OUT OF PRODUCTION
Show Image
[21]
Contact
SSA532B024A
SWITCH LP
Contact
Notes:
OUT OF PRODUCTION, 63L
[22]
In Stock
SSA357A009C
STRAINER
Notes:
OUT OF PRODUCTION
[23]
Contact
SSA932B028
GASKET
Contact
Substitute:
RA25089-SSA932B028D
Notes:
OUT OF PRODUCTION
[24]
Contact
PCL932C003
GASKET SUCT
Contact
Notes:
OUT OF PRODUCTION
[28-30]
Contact
PCL312D002B
HEAT EXCH
Contact
Notes:
OUT OF PRODUCTION
[29]
Contact
PCL423C011A
HOSE
Contact
Notes:
OUT OF PRODUCTION
[30]
Contact
SSA385A039
VALVE CHECK
Contact
Notes:
OUT OF PRODUCTION
[31-32]
Contact
PCL321A576B
PIPE EXP
Contact
Notes:
OUT OF PRODUCTION
[32]
Contact
F107E06
FLARE NUT,REF
Contact
Notes:
OUT OF PRODUCTION
[33]
Contact
SSA382A025
VALVE,2WAY
Contact
Substitute:
RC08689
Notes:
OUT OF PRODUCTION
[33-39]
Contact
PCL387A009K
VALVE ASSY,
Contact
Notes:
OUT OF PRODUCTION
[34]
Contact
SSA387A103B
EXP
Contact
Notes:
OUT OF PRODUCTION
[35]
Contact
SSA387A094
EXP FDCP
Contact
Notes:
OUT OF PRODUCTION
[36]
In Stock
SSA357H034
STRAINER
Notes:
OUT OF PRODUCTION
Show Image
[37]
In Stock
SSA382A070
VALVE 2WAY
Notes:
OUT OF PRODUCTION, DOES NOT COME WITH "STRAINER"
Show Image
[38]
Contact
PCL315B072
CAPILLARY
Contact
Notes:
OUT OF PRODUCTION, !D2.4XD4.0 L300, !D2.4XD4.0 L300
[39]
Contact
PCL315B137A
CAPILLARY
Contact
Notes:
OUT OF PRODUCTION, !D3.5XD5.0 L300, !D3.5XD5.0 L300
[40]
Contact
SSA551D020
SENSOR HP
Contact
Notes:
OUT OF PRODUCTION, PSH
[41]
Contact
PCL452A011A
‚µ‚²„¢‚¬‚¸
Contact
Notes:
OUT OF PRODUCTION
[42]
Contact
PCL423J014
HOSE OIL TA
Contact
Notes:
OUT OF PRODUCTION
[43]
Contact
PCL423J015
HOSE OIL TA
Contact
Notes:
OUT OF PRODUCTION
[44]
Contact
PCL423J016
HOSE OIL TA
Contact
Notes:
OUT OF PRODUCTION
[45]
Contact
PCL315B139
CAPILLARY
Contact
Notes:
OUT OF PRODUCTION, !D2.8XD4.0 L790, !D2.8XD4.0 L790
[46]
Contact
PCL423J018
HOSE OIL TA
Contact
Notes:
OUT OF PRODUCTION
[47]
Contact
PCL422G001
CAP
Contact
Notes:
OUT OF PRODUCTION
[48]
Contact
SSA382F008J
COIL S 2000
Contact
Notes:
OUT OF PRODUCTION, FOR 20S
[49]
Contact
SSA382F109J
COIL,SOLENOID
Contact
Notes:
OUT OF PRODUCTION, FOR SV1, FOR SV1
[50]
Contact
SSA382F415D
COIL SO2400
Contact
Notes:
OUT OF PRODUCTION, FOR SV2
[51]
In Stock
SSA382F100M
COIL SOLENO
Notes:
OUT OF PRODUCTION, 20VU,SV3, 20VU,SV3
Show Image
[52]
In Stock
SSA382F147A
COILSOLENO VALVE
Notes:
OUT OF PRODUCTION, 20VF, SV1,2
Show Image
[53]
Contact
SSA382F100J
COIL,SOLENOID
Contact
Notes:
OUT OF PRODUCTION
[54]
Contact
PCL452A012A
TANK SOBOIL
Contact
Notes:
OUT OF PRODUCTION
[55]
Contact
PCL482A001
VALVE 2WAY
Contact
Notes:
OUT OF PRODUCTION, 20OL
[56]
Contact
PCL423J017
HOSE OIL TA
Contact
Notes:
OUT OF PRODUCTION
[57]
Contact
PCL482F003
COIL SOLENO
Contact
Substitute:
OUT OF PRODUCTION
Notes:
OUT OF PRODUCTION, FOR 20OL
[58-59]
Contact
PCL501A018
BOX,TERMINA
Contact
Notes:
OUT OF PRODUCTION
[59]
Contact
SSA561B671
BLOCK,TERMI
Contact
Notes:
OUT OF PRODUCTION
[60]
Contact
PCL142A128
LID
Contact
Notes:
OUT OF PRODUCTION
GHCP560HMTE4 PIPING quantity
Add to cart
SKU:
GHCP560HMTE4 PIPING
Category:
Uncategorised
Home
About
About MRE Spare Parts
Ordering Information
Terms of Trade
Privacy Policy
Delivery Policy
Returns
Feedback
Faq
Contact
Login
0
0
Your Cart
Your cart is empty
Calculate Shipping