GHCP450HMTE4 PANEL AND FAN ASSY

GHCP450HMTE4 PANEL AND FAN ASSY

Parts List

Key:
Instock.
Nilstock.
Contact MRE.

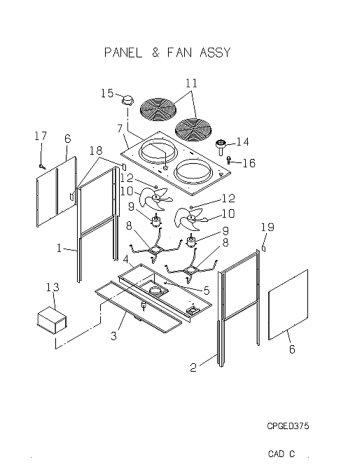
Check the parts position number [ ] matching with the drawing. Login to view prices.

[1] Contact
PCL101A009
FRAME ASSY
Contact
Notes: OUT OF PRODUCTION
[2] Contact
PCL101A009A
FRAME ASSY
Contact
Notes: OUT OF PRODUCTION
[3] Contact
PCL454A004
PAN DRAIN
Contact
Notes: OUT OF PRODUCTION
[4-5] Contact
PCL454A005
PAN DRAIN
Contact
Notes: OUT OF PRODUCTION
[5] Contact
SSA947B014A
GROMMET
Contact
Notes: OUT OF PRODUCTION
[6] Contact
PCL123A015
SIDE PANAL
Contact
Notes: OUT OF PRODUCTION
[7] Contact
PCL124A009D
PANEL ASSY,
Contact
Notes: OUT OF PRODUCTION
[8] Contact
PCL116A259
BASE MOTOR
Contact
Notes: OUT OF PRODUCTION
[9] Out of Stock
SSA511T133D
MOTOR,AC
Substitute: OUT OF PRODUCTION Notes: OUT OF PRODUCTION
[10] In Stock
SSA431B075
FAN(PLASTIC
Notes: OUT OF PRODUCTION
[11] Contact
PCL131A009
FIN GUARD
Contact
Notes: OUT OF PRODUCTION
[12] Contact
SSA326B005
CAP
Contact
Substitute: RC80461 Notes: OUT OF PRODUCTION
[13] Contact
PCL142A098
BOX
Contact
Notes: OUT OF PRODUCTION
[14] Contact
PCL624A054A
EXHAUST ASY
Contact
Notes: OUT OF PRODUCTION
[15] Contact
PCL142A076
COVER
Contact
Notes: OUT OF PRODUCTION
[16] Out of Stock
SSA911D223
BOLT 6X20SU
Notes: OUT OF PRODUCTION, M6X20
[17] Contact
SSA913D012A
SCREW 5/14
Contact
Notes: OUT OF PRODUCTION, 5X14, 1pc ONLY
[18] Contact
RCG011H004D
LABEL,NOTICE
Contact
Notes: OUT OF PRODUCTION
[19] Contact
PSA011H010F
LABEL,NOTICE
Contact
Notes: OUT OF PRODUCTION
SKU: GHCP450HMTE4 PANEL AND FAN ASSY Category:
0
    0
    Your Cart
    Your cart is empty
      Calculate Shipping