FDUT22KXE6F-W/1 CABINET

FDUT22KXE6F-W/1 CABINET

Parts List

Key:
Instock.
Nilstock.
Contact MRE.

Check the parts position number [ ] matching with the drawing. Login to view prices.

[1-4] Contact
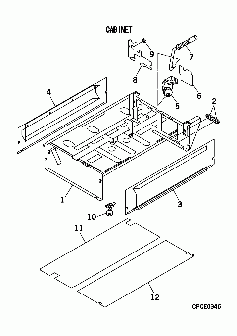
PJH100A001J
CABINET ASSY
Contact
Notes: ?
[2] In Stock
SSA947B120
GROMMET
Notes: LENGTH 5.5CM Show Image
SSA947B120
[3] Contact
PJZ438A056
JOINT,DUCT(IN)
Contact
[4] Contact
PJH438A001
JOINT ASSY,DUCT(OU
Contact
[5] In Stock
PJH451A002
DRAIN PUMP
PJH451A002
[5-7] In Stock
PJH451A001
DRAIN PUMP ASSY
PJH451A001
[6] Contact
PJH132A001
LID,PUMP
Contact
[7] In Stock
PJH423A001
HOSE ASSY
[8-9] Contact
PJH132A005
LID ASSY
Contact
[9] Contact
S751W20
GROMMET 5K1
Contact
Notes: f25
[10] In Stock
PJG536A001
SWITCH ASSY,FLOAT
Notes: FS, LENGTH 102CM Show Image
PJG536A001
[11] In Stock
PJH111A006
PLATE ASSY,BOTTOM(
[12] In Stock
PJZ111A005
PLATE ASSY,BOTTOM
SKU: FDUT22KXE6F-W/1 CABINET Category:
0
    0
    Your Cart
    Your cart is empty
      Calculate Shipping