FDUMA252R CABINET ASSY

FDUMA252R CABINET ASSY

Parts List

Key:
Instock.
Nilstock.
Contact MRE.

Check the parts position number [ ] matching with the drawing. Login to view prices.

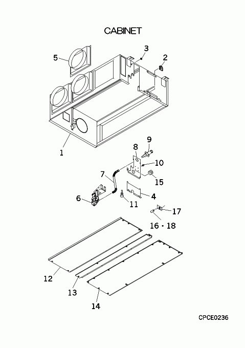
[1-3] Contact
PJR100A115B
CABINET ASSY
Contact
[2] Contact
SSA947B027A
GROMMET
Contact
[3] Contact
S751W09
GROMMET
Contact
Notes: D13
[4] In Stock
PJR132A101D
LID
[5] In Stock
PJR438A102
JOINT DUCT
PJR438A102
[6] In Stock
PJA451A510V
PUMP ASSY,DRAIN
Notes: DM Show Image
PJA451A510V
[6-10] Contact
PJR451A300
PUMP ASSY,DRAIN
Contact
[7] In Stock
SSA423A092A
HOSE,DRAIN
SSA423A092A
[8] In Stock
PJR132A119
LID
[9] In Stock
SSA422C088
SOCKET
Notes: LENGTH 11.5CM Show Image
SSA422C088
[10] Contact
SSA913D006
SCREW
Contact
Notes: 4X8, 1pc ONLY
[11] In Stock
SSA536A017T
SWITCH, FLOAT
Notes: FS, OUT OF PRODUCTION CABLE LENGTH 66.5CM Show Image
SSA536A017T
[12] Contact
PJR111A117A
PLATE ASSY,BOTTOM
Contact
[13] Contact
PJR111A119A
PLATE ASSY,BOTTOM(
Contact
[14] Contact
PJR111A118A
PLATE ASSY,BOTTOM(
Contact
[15] In Stock
S751W30
GROMMET
Notes: D35 Show Image
S751W30
[16] In Stock
PJA551A010A
SENSOR ASY
Notes: THI-A Show Image
PJA551A010A
[16-18] Contact
PJR551A001D
SENSOR(TEMPERATURE
Contact
[17] Contact
SSA947B010
GROMMET
Contact
[18] Contact
SSA937C290
CLIP
Contact
Notes: FOR THI-A
[19] In Stock
PSA006A039
HOSE SET, DRAIN
Notes: SEE SECTION
[20] In Stock
V300Y38
CLAMP
Notes: SEE SECTION, CLAMP Show Image
V300Y38
SKU: FDUMA252R CABINET ASSY Category:
0
    0
    Your Cart
    Your cart is empty
      Calculate Shipping