Parts List
Key:
Instock.
Nilstock.
Contact MRE.
Check the parts position number [ ] matching with the drawing. Login to view prices.
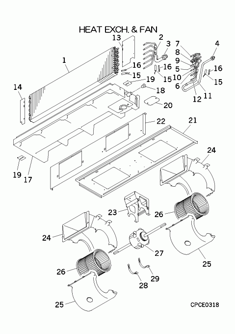
[1]
Contact
PJG311A001C
HEAT EXCH(AIR)
Contact
[1-16]
In Stock
PJG301A001H
HEAT EXCH ASSY(AIR
[2-3]
Contact
PJR315D506C
HEADER ASSY,GAS
Contact
[3]
Contact
SSA323F092C
UNION,SOLDER
Contact
[4]
Contact
SSA323F092
UNION,SOLDER
Contact
[4-12]
Contact
PJG315A002
DISTRIBUTOR ASSY
Contact
[5]
Contact
PJG315A001C
DISTRIBUTOR
Contact
[5-12]
Contact
PJG315A003
DISTRIBUTOR ASSY
Contact
[6]
In Stock
SSA357A051
STRAINER
[7]
Contact
PJG315B001
CAPILLARY
Contact
[8]
Contact
PJG315B001A
CAPILLARY
Contact
[9]
Contact
PJG315B001B
CAPILLARY
Contact
[10]
Contact
PJG315B001C
CAPILLARY
Contact
[11]
Contact
PJG315B001G
CAPILLARY
Contact
[12]
Contact
PJG315B001H
CAPILLARY
Contact
[13]
Contact
PJG141A003
PLATE,BAFFLE(R)
Contact
[14]
Contact
PJG141A004
PLATE,BAFFLE(L)
Contact
[15]
In Stock
PJF551A002H
SENSOR ASSY(TEMP)
Notes: THI-R1,2,3, THI-R1,2,3 - LENGTH 68.5CM Show Image
[16]
Out of Stock
RKJ941F001
SPRING LEAF
Substitute: PSA941F001 Notes: FOR THI-R Show Image
[17-18]
In Stock
PJG454A001C
DRAIN PAN
[18]
In Stock
SSA326A003F
PLUG
[19]
In Stock
PJG116A009
BRACKET
[20]
In Stock
PJG142A006
LID ASSY(DRAIN)
[21]
In Stock
PJG119A001A
PLATE(BASE,FAN)
[22]
In Stock
PJG119A003A
PLATE,FAN
[23]
In Stock
PJG116A001B
BRACKET ASSY(MOTOR)
[24]
In Stock
PJG433B001
BELLMOUTH
[25]
In Stock
PJG433B002
BELLMOUTH
[26]
In Stock
SSA431D093A
IMPELLER
[27]
In Stock
SSA512T109ZC
MOTOR,DC
[28]
In Stock
PJG116A063
BRACKET(MOTOR)
[29]
In Stock
PFA116A207H
BRACKET