Skip to content
info@mrespares.com.au
Phone:
+61 2 9600 7444
Register
Login
Shop Parts
Service Tools
Cart
info@mrespares.com.au
Phone:
+61 2 9600 7444
Register
Login
Shop Parts
Service Tools
Cart
Home
About
About MRE Spare Parts
Ordering Information
Terms of Trade
Privacy Policy
Delivery Policy
Returns
Feedback
Faq
Contact
Home
>
FDUM125VF/B CABINET
PRINT
FDUM125VF/B CABINET
FDUM125VF/B CABINET
Parts List
Key:
Instock.
Nilstock.
Contact MRE.
Check the parts position number [ ] matching with the drawing.
Login
to view prices.
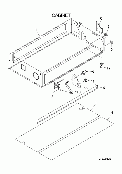
[1-2]
Contact
PJG100A001B
CABINET ASSY
Contact
Notes:
!
[2]
In Stock
SSA947B120
GROMMET
Notes:
LENGTH 5.5CM
Show Image
[3]
Contact
PJG111A001B
PLATE ASSY,BOTTOM(
Contact
[4]
Contact
PJG111A003B
PLATE ASSY,BOTTOM(
Contact
[5]
In Stock
PJG132A005
LID ASSY
[6]
Contact
PJG115A002B
STIFFENER(BOTTOM)
Contact
[7]
In Stock
SSA451A012
DRAIN PUMP
Notes:
White Plug with Red & White Cable (CNR - DM (DRAIN MOTOR)) plugs in CNR port on control pcb
Show Image
[7-11]
Out of Stock
PJG451A002
DRAIN PUMP
Substitute:
PJG451A002A
[8]
In Stock
PJG132A002
LID(PUMP)
Show Image
[9]
In Stock
SSA422C088
SOCKET
Notes:
LENGTH 11.5CM
Show Image
[10]
In Stock
SSA423A110
HOSE,DRAIN
Show Image
[11]
In Stock
S751W30
GROMMET
Notes:
D35
Show Image
[12]
In Stock
SSA536A030
FLOAT SWITCH
Notes:
FS, LENGTH 107.5CM
Show Image
[13]
In Stock
SSA423A101
HOSE,DRAIN
Notes:
SEE C: CONTROL & PARTS SET
Show Image
[14]
In Stock
V300Y38
CLAMP
Notes:
SEE C: CONTROL & PARTS SET, CLAMP
Show Image
FDUM125VF/B CABINET quantity
Add to cart
SKU:
FDUM125VF/B CABINET
Category:
Uncategorised
Home
About
About MRE Spare Parts
Ordering Information
Terms of Trade
Privacy Policy
Delivery Policy
Returns
Feedback
Faq
Contact
Login
0
0
Your Cart
Your cart is empty
Calculate Shipping