FDUM100VF2/F CABINET

FDUM100VF2/F CABINET

Parts List

Key:
Instock.
Nilstock.
Contact MRE.

Check the parts position number [ ] matching with the drawing. Login to view prices.

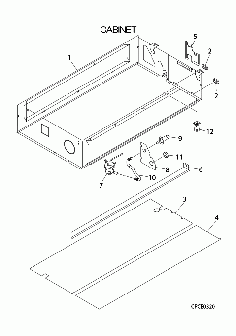
[1-22] In Stock
PJG100A001L
CABINET ASSY
Notes: !
[2] In Stock
SSA947B120
GROMMET
Notes: LENGTH 5.5CM Show Image
SSA947B120
[3] Contact
PJG111A001B
PLATE ASSY,BOTTOM(
Contact
[4] Contact
PJG111A003B
PLATE ASSY,BOTTOM(
Contact
[5] In Stock
PJG132A005
LID ASSY
[6] Contact
PJG115A002B
STIFFENER(BOTTOM)
Contact
[7] In Stock
SSA451A012
DRAIN PUMP
Notes: White Plug with Red & White Cable (CNR - DM (DRAIN MOTOR)) plugs in CNR port on control pcb Show Image
SSA451A012
[7-11] In Stock
PJG451A002A
PUMP ASSY,DRAIN
Notes: Includes Drain Pump, Lid/Bracket, Socket, Drain hose & Grommet - does NOT include Float switch
[8] In Stock
PJG132A002
LID(PUMP)
PJG132A002
[9] In Stock
SSA422C088
SOCKET
Notes: LENGTH 11.5CM Show Image
SSA422C088
[10] In Stock
SSA423A110
HOSE,DRAIN
SSA423A110
[11] In Stock
S751W30
GROMMET
Notes: D35 Show Image
S751W30
[12] In Stock
SSA536A030
FLOAT SWITCH
Notes: FS, LENGTH 107.5CM Show Image
SSA536A030
[13] In Stock
SSA423A101A
HOSE,DRAIN
Notes: SEE C: CONTROL & PARTS SET
[14] In Stock
V300Y42
HOSE CLAMP
Notes: SEE C: CONTROL & PARTS SET
SKU: FDUM100VF2/F CABINET Category:
0
    0
    Your Cart
    Your cart is empty
      Calculate Shipping