Skip to content
info@mrespares.com.au
Phone:
+61 2 9600 7444
Register
Login
Shop Parts
Service Tools
Cart
info@mrespares.com.au
Phone:
+61 2 9600 7444
Register
Login
Shop Parts
Service Tools
Cart
Home
About
About MRE Spare Parts
Ordering Information
Terms of Trade
Privacy Policy
Delivery Policy
Returns
Feedback
Faq
Contact
Home
>
FDUA160VF/G CABINET
PRINT
FDUA160VF/G CABINET
FDUA160VF/G CABINET
Parts List
Key:
Instock.
Nilstock.
Contact MRE.
Check the parts position number [ ] matching with the drawing.
Login
to view prices.
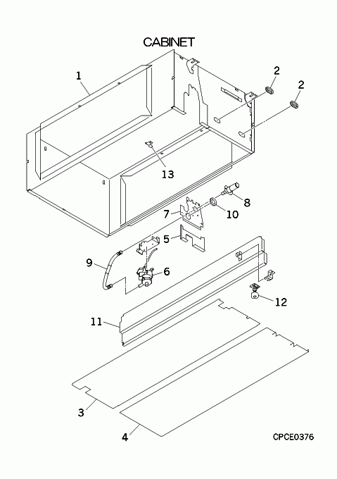
[1-2]
In Stock
PJG100A003
CABINET ASSY
Notes:
!
[2]
In Stock
SSA947B120
GROMMET
Notes:
LENGTH 5.5CM
Show Image
[3]
In Stock
PJG111A007
PLATE ASSY,BOTTOM(
[4]
In Stock
PJG111A009
PLATE ASSY,BOTTOM(
[5]
Out of Stock
PJG132A007
LID ASSY
[6]
In Stock
SSA451A012
DRAIN PUMP
Notes:
White Plug with Red & White Cable (CNR - DM (DRAIN MOTOR)) plugs in CNR port on control pcb
Show Image
[6-10]
In Stock
PJG451A003A
PUMP ASSY,DRAIN
[7]
Contact
PJG132A010A
LID(PIPE)
Contact
[8]
In Stock
SSA422C088
SOCKET
Notes:
LENGTH 11.5CM
Show Image
[9]
In Stock
SSA423A110
HOSE,DRAIN
Show Image
[10]
In Stock
S751W30
GROMMET
Notes:
D35
Show Image
[11]
Contact
PJG115A006
STIFFENER ASSY
Contact
[12]
In Stock
SSA536A030
FLOAT SWITCH
Notes:
FS, LENGTH 107.5CM
Show Image
[13]
In Stock
PJG116A015
BRACKET(STOPPER)
[14]
In Stock
SSA423A101C
HOSE,DRAIN
Notes:
SEE C: CONTROL & PARTS SET, LENGTH 26CM
Show Image
[15]
In Stock
V300Y42
HOSE CLAMP
Notes:
SEE C: CONTROL & PARTS SET
FDUA160VF/G CABINET quantity
Add to cart
SKU:
FDUA160VF/G CABINET
Category:
Uncategorised
Home
About
About MRE Spare Parts
Ordering Information
Terms of Trade
Privacy Policy
Delivery Policy
Returns
Feedback
Faq
Contact
Login
0
0
Your Cart
Your cart is empty
Calculate Shipping