FDTS45KXE6 CONTROL AND PARTS SET

FDTS45KXE6 CONTROL AND PARTS SET

Parts List

Key:
Instock.
Nilstock.
Contact MRE.

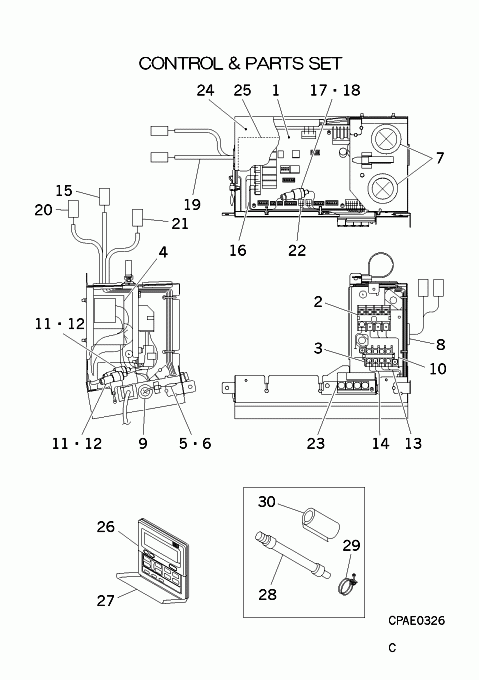
Check the parts position number [ ] matching with the drawing. Login to view prices.

[1] In Stock
PJA505A193ZJ
PWB
[1-22] Contact
PJC501A127CF
Contact
[2] In Stock
SSA561B702C
BLOCK,TERMINAL
Notes: TB1
[3] In Stock
SSA561B720A
BLOCK,TERMINAL
Notes: TB2 Show Image
SSA561B720A
[4] In Stock
SSA554A487
TRANSFORMER
Notes: TR Show Image
SSA554A487
[5] In Stock
PSA551A008AB
SENSOR
Notes: THI-A, THI-A RETURN AIR. OTHER SENSORS MAY BE IN HEAT EXCH. ASSY SECTOR Show Image
PSA551A008AB
[6] Contact
SSA937C290
CLIP
Contact
Notes: FOR THI-A
[7] In Stock
S751W30X
GROMMET V14
Notes: D35, ***SOLD INDIVIDUALLY*** Show Image
S751W30X
[8] Contact
S751W20X
GROMMET
Contact
Notes: D25
[9] Contact
S751W12X
GROMMET
Contact
Notes: D16
[10-12] Contact
PJB504A234G
WIRING(TB,POWER)
Contact
Notes: TB1 L,TB1 N- CNW0 PWB,CNU
[11] In Stock
SSA564A116G
FUSE(CURRENT)
Notes: 3.15A, 3.15 AMP FUSE Show Image
SSA564A116G
[12] In Stock
RWC564B002
HOLDER,FUSE
RWC564B002
[13] Contact
PJB504A235D
WIRING(TB,AB)
Contact
Notes: TB2 A,TB2 B-CNK1 PWB, TB2 A,TB2 B- CNK1 PWB
[14] Contact
PJB504A228A
WIRING(TB,XY)
Contact
Notes: TB2 X,TB2 Y-CNB PWB
[15] Contact
PJC504A044A
WIRING(LM,LS)
Contact
Notes: CNJS-CNJ2 PWB,CNS PWB, CNJS- CNJ2 PWB,CNS PWB
[16-18] Contact
PJB504A238G
WIRING(DM)
Contact
Notes: CNR PWB-CNR2 DM, CNR PWB- CNR2 DM
[17] In Stock
SSA564A139
FUSE(CURRENT)¯¿½
Notes: 0.16A, F 0.16A¯¿½ Show Image
SSA564A139
[18] In Stock
RWC564B002
HOLDER,FUSE
RWC564B002
[19] Contact
PJC504A045A
WIRING(FM)
Contact
Notes: CNF1 FMI1-CNM3 PWB, CNF1 FMI1- CNM3 PWB
[20] Contact
PJB504A236L
WIRING(EEV)
Contact
Notes: CNA2 EEV-CNA PWB, CNA2 EEV- CNA PWB
[21] Contact
PJC504A047A
WIRING(THI-R)
Contact
Notes: CNN2-CNN PWB, CNN2- CNN PWB
[22] Contact
PJB504A233D
WIRING(FS)
Contact
Notes: CNI2-CNI PWB, CNI2- CNI PWB
[23] In Stock
PJA505A197
PWB ASSY
[24-25] Contact
PJC142A032B
LID ASSY,CONTROL
Contact
[25] Contact
PJC011G020
LABEL,WIRING
Contact
[26-27] Contact
PJA502A800BC
CONTROL ASSY,REMOTE
Contact
Substitute: RC-E5 Notes: "RC-E5" SALES ITEM, REPLACES RC-E3 AND RC-E4
[27] Contact
PJA129A708
COVER Z
Contact
[28] In Stock
SSA423A101
HOSE,DRAIN
SSA423A101
[28-30] Contact
PJA006A317M
INSTALLATION KIT
Contact
[29] In Stock
V300Y38
CLAMP
Notes: CLAMP Show Image
V300Y38
[30] In Stock
SSA153B016BA
INSULATION,PIPE¯¿½
SSA153B016BA
[31] Contact
PJC011F036A
Contact
SKU: FDTS45KXE6 CONTROL AND PARTS SET Category:
0
    0
    Your Cart
    Your cart is empty
      Calculate Shipping