Skip to content
info@mrespares.com.au
Phone:
+61 2 9600 7444
Register
Login
Shop Parts
Service Tools
Cart
info@mrespares.com.au
Phone:
+61 2 9600 7444
Register
Login
Shop Parts
Service Tools
Cart
Home
About
About MRE Spare Parts
Ordering Information
Terms of Trade
Privacy Policy
Delivery Policy
Returns
Feedback
Faq
Contact
Home
>
FDTCA151 CONTROL AND PARTS SET
PRINT
FDTCA151 CONTROL AND PARTS SET
FDTCA151 CONTROL AND PARTS SET
Parts List
Key:
Instock.
Nilstock.
Contact MRE.
Check the parts position number [ ] matching with the drawing.
Login
to view prices.
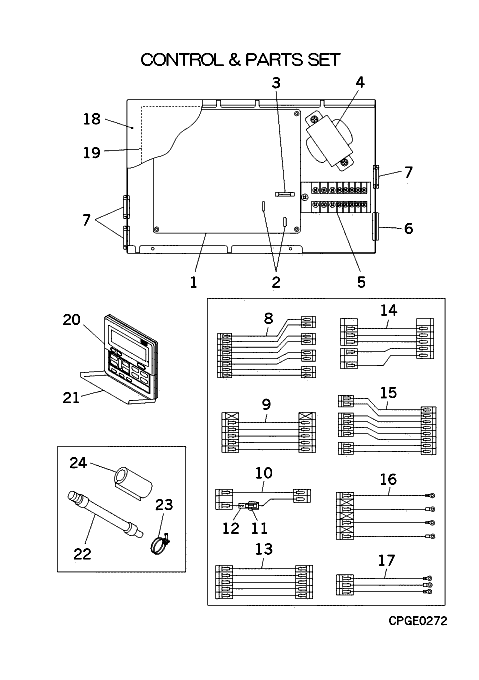
[1-15]
Contact
PJA501A751
CONTROL UNIT
Contact
Notes:
NOT AVAILABLE
[1-3]
In Stock
PJA505A144ZA
PWB ASSY
Notes:
Indoor PCB
Show Image
[2]
Contact
SSA555B022A
VARISTOR
Contact
[3]
In Stock
SSA564A116G
FUSE(CURRENT)
Notes:
3.15A, 3.15 AMP FUSE
Show Image
[4]
In Stock
SSA554A437AA
TRANSFORMER
Show Image
[5]
Contact
SSA561B716FD
BLOCK,TERMINAL
Contact
Notes:
TB
[6]
In Stock
S751W25X
GROMMET
Notes:
D30
Show Image
[7]
Contact
SSA947B014A
GROMMET
Contact
[8]
In Stock
PJA504A750A
HARNESS ASSY
Notes:
CNC-CNI2,CNH2,CNN3,CNN4
Show Image
[9]
Out of Stock
PJA504A753
HARNESS
Notes:
CNM3-CNM4
[10]
In Stock
PJA504A712A
WIRING
Notes:
CNR-CNR2
Show Image
[11]
In Stock
PJA504A755
WIRING(LM)
Notes:
CNJ-CNJ2
Show Image
[12]
In Stock
PJA504A708C
WIRING
Notes:
CNM2,CNM1-CNM3
Show Image
[13]
In Stock
PJA504A757A
WIRING ASSY
Notes:
CNI,CNH,CNN1-CNC
[14]
In Stock
PJA504A758A
WIRING(TB)
Notes:
CNW0-CTRL BOX EARTH,TB 1,TB 2,TB 3
Show Image
[15]
In Stock
PJA504A714B
WIRING (TB,X
Notes:
CNB-TB X,TB Y,TB Z
Show Image
[16-17]
Contact
PJA142A752A
LID ASSY,CONTROL B
Contact
[17]
Contact
PJA011G751
LABEL,WIRING
Contact
[18-19]
Out of Stock
PJA502A700AC
WALL CONTROLLER
Substitute:
OUT OF PRODUCTION
Notes:
RC-E1, OUT OF PRODUCTION - RC-E1 / RC-E1R - 3 WIRE, X-Y-Z
[19]
Contact
PJA129A708
COVER Z
Contact
[20]
In Stock
PSA006A039
HOSE SET, DRAIN
[20-22]
In Stock
PJA006A317K
INSTALATION
[21]
In Stock
V300Y38
CLAMP
Notes:
CLAMP
Show Image
[22]
Contact
PJA153B007
INSULATION,PIPE
Contact
[23]
Contact
PJA011F751A
LABEL,MODEL NAME
Contact
FDTCA151 CONTROL AND PARTS SET quantity
Add to cart
SKU:
FDTCA151 CONTROL AND PARTS SET
Category:
Uncategorised
Home
About
About MRE Spare Parts
Ordering Information
Terms of Trade
Privacy Policy
Delivery Policy
Returns
Feedback
Faq
Contact
Login
0
0
Your Cart
Your cart is empty
Calculate Shipping