Skip to content
info@mrespares.com.au
Phone:
+61 2 9600 7444
Register
Login
Shop Parts
Service Tools
Cart
info@mrespares.com.au
Phone:
+61 2 9600 7444
Register
Login
Shop Parts
Service Tools
Cart
Home
About
About MRE Spare Parts
Ordering Information
Terms of Trade
Privacy Policy
Delivery Policy
Returns
Feedback
Faq
Contact
Home
>
FDTC56KXE6F/1 FAN ASSY AND CABINET
PRINT
FDTC56KXE6F/1 FAN ASSY AND CABINET
FDTC56KXE6F/1 FAN ASSY AND CABINET
Parts List
Key:
Instock.
Nilstock.
Contact MRE.
Check the parts position number [ ] matching with the drawing.
Login
to view prices.
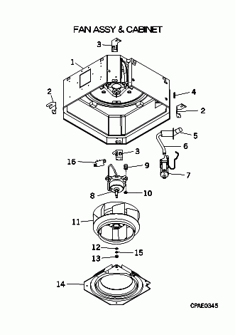
[1-4]
Contact
PJA100A780
CABINET ASSY
Contact
[2]
Contact
PJA032A780
HOLDER
Contact
[3]
Contact
PJA032A780A
HOLDER
Contact
[4]
In Stock
S751W25X
GROMMET
Notes:
D30
Show Image
[5]
In Stock
SSA422C107
SOCKET
[5-6]
In Stock
PJF422C001
ELBOW, DRAIN SOCKET ASSY
Notes:
SOCKET ASSY-NOT DRAIN HOSE (MOSTLY INTERNAL FITTING)
[6]
In Stock
SSA423A100
HOSE,DRAIN
[7]
In Stock
PJA451A780
PUMP ASSY,DRAIN
Show Image
[8]
In Stock
SSA512T095C
MOTOR.DC
[9]
In Stock
SSA941C309A
CUSION RUBBER
Notes:
1pc only - SOLD INDIVIDUALLY
[10]
In Stock
SSA914C015
NUT FLANGE
Notes:
1pc
Show Image
[11]
In Stock
SSA431J024
FAN,TURBO
[12]
In Stock
W205H10
WASHER
Notes:
1pc ONLY
Show Image
[13]
In Stock
N001A10
NUT
Notes:
1pc
Show Image
[14]
Contact
PJA433A780
BELLMOUTH ASSY
Contact
[15]
In Stock
W220R10
WASHER
Notes:
1pc ONLY
Show Image
[16]
Contact
PJA129A780
PLATE
Contact
[17]
In Stock
SSA423A101
HOSE,DRAIN
Notes:
SEE D: CONTROL & PARTS SET
Show Image
[18]
In Stock
V300Y38
CLAMP
Notes:
SEE D: CONTROL & PARTS SET, CLAMP
Show Image
FDTC56KXE6F/1 FAN ASSY AND CABINET quantity
Add to cart
SKU:
FDTC56KXE6F/1 FAN ASSY AND CABINET
Category:
Uncategorised
Home
About
About MRE Spare Parts
Ordering Information
Terms of Trade
Privacy Policy
Delivery Policy
Returns
Feedback
Faq
Contact
Login
0
0
Your Cart
Your cart is empty
Calculate Shipping