Skip to content
info@mrespares.com.au
Phone:
+61 2 9600 7444
Register
Login
Shop Parts
Service Tools
Cart
info@mrespares.com.au
Phone:
+61 2 9600 7444
Register
Login
Shop Parts
Service Tools
Cart
Home
About
About MRE Spare Parts
Ordering Information
Terms of Trade
Privacy Policy
Delivery Policy
Returns
Feedback
Faq
Contact
Home
>
FDTC56KXE6 FAN ASSY AND CABINET
PRINT
FDTC56KXE6 FAN ASSY AND CABINET
FDTC56KXE6 FAN ASSY AND CABINET
Parts List
Key:
Instock.
Nilstock.
Contact MRE.
Check the parts position number [ ] matching with the drawing.
Login
to view prices.
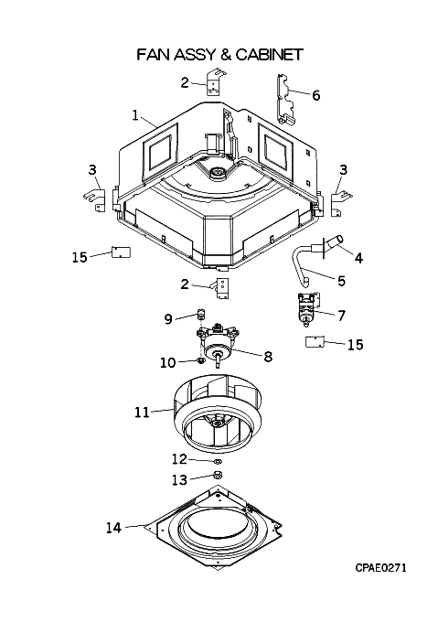
[1-3]
Contact
PJA100A760A
CABINET ASSY
Contact
[2]
Contact
PJA032A760
HOLDER
Contact
[3]
Contact
PJA032A760A
HOLDER
Contact
[4]
Out of Stock
SSA422C086
SOCKET
[4-5]
Contact
PJA422C600
SOCKET ASSY
Contact
[5]
Contact
SSA423A092
HOSE,DRAIN
Contact
Substitute:
SSA422C600
[6]
Contact
PJA132A760
LID
Contact
[7]
In Stock
PJA451A510F
PUMP ASSY
Show Image
[8]
Out of Stock
SSA512T131
FAN MOTOR
Notes:
OUT OF PRODUCTION
[9]
In Stock
SSA941C309A
CUSION RUBBER
Notes:
1pc only - SOLD INDIVIDUALLY
[10]
In Stock
SSA914C015
NUT FLANGE
Notes:
1pc
Show Image
[11]
Out of Stock
SSA431J018
FAN,TURBO
Substitute:
OUT OF PRODUCTION
Notes:
OUT OF PRODUCTION
Show Image
[12]
In Stock
W205H10
WASHER
Notes:
1pc ONLY
Show Image
[13]
In Stock
N001A10
NUT
Notes:
1pc
Show Image
[14]
Contact
PJA433A751
BELLMOUTH ASSY
Contact
[15]
Contact
PJA116A752
BRACKET
Contact
[16]
In Stock
SSA423A101
HOSE,DRAIN
Notes:
ACCESSORIES
Show Image
[17]
In Stock
V300Y38
CLAMP
Notes:
ACCESSORIES, CLAMP
Show Image
FDTC56KXE6 FAN ASSY AND CABINET quantity
Add to cart
SKU:
FDTC56KXE6 FAN ASSY AND CABINET
Category:
Uncategorised
Home
About
About MRE Spare Parts
Ordering Information
Terms of Trade
Privacy Policy
Delivery Policy
Returns
Feedback
Faq
Contact
Login
0
0
Your Cart
Your cart is empty
Calculate Shipping