FDTC45KXE6F FAN ASSY AND CABINET

FDTC45KXE6F FAN ASSY AND CABINET

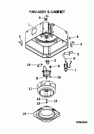
Parts List

Key:
Instock.
Nilstock.
Contact MRE.

Check the parts position number [ ] matching with the drawing. Login to view prices.

[1-4] Contact
PJA100A780
CABINET ASSY
Contact
[2] Contact
PJA032A780
HOLDER
Contact
[3] Contact
PJA032A780A
HOLDER
Contact
[4] In Stock
S751W25X
GROMMET
Notes: D30 Show Image
S751W25X
[5] In Stock
SSA422C107
SOCKET
[5-6] In Stock
PJF422C001
ELBOW, DRAIN SOCKET ASSY
Notes: SOCKET ASSY-NOT DRAIN HOSE (MOSTLY INTERNAL FITTING)
[6] In Stock
SSA423A100
HOSE,DRAIN
[7] In Stock
PJA451A780
PUMP ASSY,DRAIN
PJA451A780
[8] In Stock
SSA512T095C
MOTOR.DC
[9] In Stock
SSA941C309A
CUSION RUBBER
Notes: 1pc only - SOLD INDIVIDUALLY
[10] In Stock
SSA914C015
NUT FLANGE
Notes: 1pc Show Image
SSA914C015
[11] In Stock
SSA431J024
FAN,TURBO
[12] In Stock
W205H10
WASHER
Notes: 1pc ONLY Show Image
W205H10
[13] In Stock
N001A10
NUT
Notes: 1pc Show Image
N001A10
[14] Contact
PJA433A780
BELLMOUTH ASSY
Contact
[15] In Stock
W220R10
WASHER
Notes: 1pc ONLY Show Image
W220R10
[16] Contact
PJA129A780
PLATE
Contact
[17] In Stock
SSA423A101
HOSE,DRAIN
SSA423A101
[18] In Stock
V300Y38
CLAMP
Notes: CLAMP Show Image
V300Y38
SKU: FDTC45KXE6F FAN ASSY AND CABINET Category:
0
    0
    Your Cart
    Your cart is empty
      Calculate Shipping