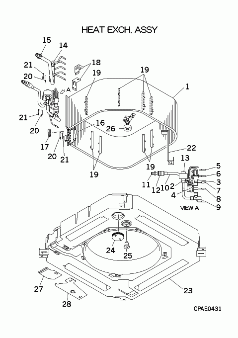
FDTC28KXZE1/H HEAT EXCH. ASSY

FDTC28KXZE1/H HEAT EXCH. ASSY

Parts List

Key:
Instock.
Nilstock.
Contact MRE.

Check the parts position number [ ] matching with the drawing. Login to view prices.

[1-21] In Stock
PJF301A502
HEAT EXCH ASSY(AIR
[2] In Stock
SSA387F074A
VALVE EXPANSION
Notes: SM Show Image
SSA387F074A
[2-15] In Stock
PJF387F500A
VALVE ASSY,EXPANSI
[3] Contact
SSA315A306AC
DISTRIBUTOR
Contact
Notes: !
[3-9] Contact
PJF315A502
DISTRIBUTOR ASSY
Contact
[4] In Stock
SSA357A051D
STRAINER
SSA357A051D
[5] Contact
PJF315B501
CAPILLARY
Contact
Notes: !D2.2XD4.0 L240
[6] Contact
PJF315B501A
CAPILLARY
Contact
Notes: !D1.6XD4.0 L220
[7] Contact
PJF315B501B
CAPILLARY
Contact
Notes: !D1.6XD4.0 L260
[8] Contact
PJF315B501C
CAPILLARY
Contact
Notes: !D1.6XD4.0 L320
[9] Contact
PJF315B501D
CAPILLARY
Contact
Notes: !D3.0XD4.0 L200
[10-12] Contact
PJF321A502
PIPING ASSY
Contact
[11] Contact
SSA323F092
UNION,SOLDER
Contact
[12] In Stock
SSA357A051F
STRAINER
Notes: LENGTH 5.5CM Show Image
SSA357A051F
[13] In Stock
SSA382F228BN
COIL,SOLENOID
Notes: FOR SM Show Image
SSA382F228BN
[14-15] Contact
PJF315D500A
HEADER ASSY,GAS
Contact
Notes: !
[15] Contact
SSA323F092A
UNION,SOLDER
Contact
[16-17] Contact
PJF141A500
PLATE ASSY,BAFFLE
Contact
[17] In Stock
S751W25X
GROMMET
Notes: D30 Show Image
S751W25X
[18] Contact
PJF116A501
BRACKET(PLATE,SIDE
Contact
[19] Contact
PJF129A514A
DIRECTOR,AIR
Contact
[20] In Stock
PJF551A002P
SENSOR ASSY(TEMP)
Notes: THI-R1,2,3 Show Image
PJF551A002P
[21] In Stock
PSA941F001
SPRING LEAF
Notes: FOR THI-R, 1pc ONLY Show Image
PSA941F001
[22] Contact
PJF116A502A
BRACKET(HEAT EX)
Contact
[23-25] In Stock
PJF454A500
PAN ASSY,DRAIN
[24] In Stock
PJF129A086
CAP & NOZZLE(DRAIN
[25] In Stock
AHT326A002B
PLUG
[26] In Stock
PJF536A500
SWITCH ASSY,FLOAT
Notes: FS, LENGTH 71CM Show Image
PJF536A500
[27] Contact
PJF119A500
COVER ASSY(WIRING)
Contact
[28] In Stock
PJF129A513
COVER(CONNECTOR)
SKU: FDTC28KXZE1/H HEAT EXCH. ASSY Category:
0
    0
    Your Cart
    Your cart is empty
      Calculate Shipping