FDTC22KXE6 FAN ASSY AND CABINET

FDTC22KXE6 FAN ASSY AND CABINET

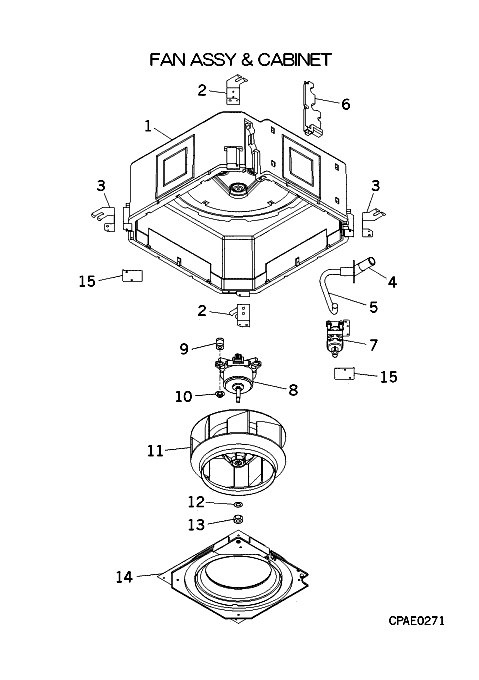
Parts List

Key:
Instock.
Nilstock.
Contact MRE.

Check the parts position number [ ] matching with the drawing. Login to view prices.

[1-3] Contact
PJA100A760
CABINET ASSY
Contact
[2] Contact
PJA032A760
HOLDER
Contact
[3] Contact
PJA032A760A
HOLDER
Contact
[4] Out of Stock
SSA422C086
SOCKET
[4-5] Contact
PJA422C600
SOCKET ASSY
Contact
[5] Contact
SSA423A092
HOSE,DRAIN
Contact
Substitute: SSA422C600
[6] Contact
PJA132A760
LID
Contact
[7] In Stock
PJA451A510F
PUMP ASSY
PJA451A510F
[8] Out of Stock
SSA512T131
FAN MOTOR
Notes: OUT OF PRODUCTION
[9] In Stock
SSA941C309A
CUSION RUBBER
Notes: 1pc only - SOLD INDIVIDUALLY
[10] In Stock
SSA914C015
NUT FLANGE
Notes: 1pc Show Image
SSA914C015
[11] Out of Stock
SSA431J018
FAN,TURBO
Substitute: OUT OF PRODUCTION Notes: OUT OF PRODUCTION Show Image
SSA431J018
[12] In Stock
W205H10
WASHER
Notes: 1pc ONLY Show Image
W205H10
[13] In Stock
N001A10
NUT
Notes: 1pc Show Image
N001A10
[14] Contact
PJA433A751
BELLMOUTH ASSY
Contact
[15] Contact
PJA116A752
BRACKET
Contact
[16] In Stock
SSA423A101
HOSE,DRAIN
Notes: ACCESSORIES Show Image
SSA423A101
[17] In Stock
V300Y38
CLAMP
Notes: ACCESSORIES, CLAMP Show Image
V300Y38
SKU: FDTC22KXE6 FAN ASSY AND CABINET Category:
0
    0
    Your Cart
    Your cart is empty
      Calculate Shipping