FDTA401 PANEL ASSY

FDTA401 PANEL ASSY

Parts List

Key:
Instock.
Nilstock.
Contact MRE.

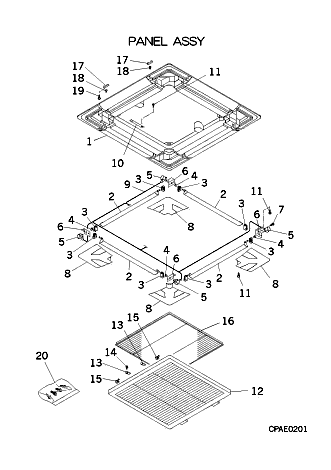
Check the parts position number [ ] matching with the drawing. Login to view prices.

[1] Contact
PJA122A702
PANEL FRONT
Contact
[1-11] Contact
PJA122A701
PANEL ASSY,FRONT
Contact
Substitute: OUT OF PRODUCTION Notes: !T-PSA-34W-E, !T-PSA-34W-E = OUT OF PRODUCTION
[2] Contact
PJA436A702
LOUVER
Contact
Notes: 1pc ONLY
[2-7] Contact
PJA436A700
LOUVWR ASY
Contact
Substitute: OUT OF PRODUCTION Notes: OUT OF PRODUCTION
[3] Contact
PJA129A700
COLLER
Contact
Notes: 1pc ONLY, ***SOLD INDIVIDUALLY***
[4] Contact
PJA144A700
COM
Contact
[5] Out of Stock
SSA512T017
MOTOR,STEPPING
Substitute: SSA512T096 Notes: VERTICAL LOUVER MOTOR LEFT/RGHT AIR FLOW Show Image
SSA512T017
[5-7] In Stock
PJA512T700
MOTOR,ASSY
PJA512T700
[6] Contact
PJA116A703
BRACKET Z
Contact
[7] Contact
W006D04X008
TAP-SCREW,CRS-PAN
Contact
Notes: 4X8, 1pc ONLY, 4X8
[8] In Stock
PJA132A704
LID CORNER
PJA132A704
[9] Contact
PJA504A701
WIRING ASSY
Contact
[10] Contact
PJA116A706
BRACKET Z
Contact
[11] In Stock
W011D04X008
TAP SCREW
Notes: 4X8, 1pc ONLY Show Image
W011D04X008
[12] In Stock
PJA435A703A
GRILLE
[12-15] Contact
PJA435A700A
GRILLE
Contact
[13] In Stock
PJA129A508
ST0PPER G
PJA129A508
[14] In Stock
W011D04X010
TAP-SCREW
Notes: 4X10, ***ONE SCREW ONLY*** 1pc ONLY Show Image
W011D04X010
[15] In Stock
PJA941F301
SPRING LEAF
[16] In Stock
PJA437A500A
FILTER
Notes: 1pc ONLY, W576XD567.5(T25)
[17] In Stock
SSA944D062
SUPPORT
SSA944D062
[18] In Stock
SSA944D063
STRIKE
SSA944D063
[19] Contact
W011D03X010
TAP-SC 3X10
Contact
Notes: 3X10
[20] Contact
PJA006A307A
PARTS SET
Contact
SKU: FDTA401 PANEL ASSY Category:
0
    0
    Your Cart
    Your cart is empty
      Calculate Shipping