FDTA301 FAN ASSY AND CABINET

FDTA301 FAN ASSY AND CABINET

Parts List

Key:
Instock.
Nilstock.
Contact MRE.

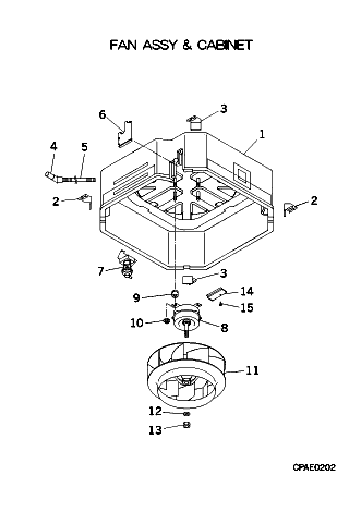
Check the parts position number [ ] matching with the drawing. Login to view prices.

[1-3] Contact
PJA100A700C
CABINET A Z
Contact
[2] Contact
PJA032A700
HOLDER Z
Contact
[3] Contact
PJA032A700A
HOLDER Z
Contact
[4] Out of Stock
SSA422C086
SOCKET
[4-5] Contact
PJA422C600
SOCKET ASSY
Contact
[5] Contact
SSA423A092
HOSE,DRAIN
Contact
Substitute: SSA422C600
[6] Contact
PJA132A700
LID Z
Contact
[7] In Stock
PJA451A510C
PUMP
[8] In Stock
SSA511T205C
MOTOR, AC
Notes: 6202DDUC3 Show Image
SSA511T205C
[9] In Stock
SSA941C296
CUSHION LUB
SSA941C296
[10] In Stock
SSA914C015A
NUT FLANGE
Notes: 1pc Show Image
SSA914C015A
[11] In Stock
SSA431J015
FAN,TURBO
[12] In Stock
W205H10
WASHER
Notes: 1pc ONLY Show Image
W205H10
[13] In Stock
N001A10
NUT
Notes: 1pc Show Image
N001A10
[14] Contact
PJA119A302
PLATE
Contact
[15] In Stock
W011D04X008
TAP SCREW
Notes: 4X8, 1pc ONLY Show Image
W011D04X008
[16] In Stock
PSA006A039
HOSE SET, DRAIN
[17] In Stock
V300Y38
CLAMP
Notes: CLAMP Show Image
V300Y38
SKU: FDTA301 FAN ASSY AND CABINET Category:
0
    0
    Your Cart
    Your cart is empty
      Calculate Shipping