Skip to content
info@mrespares.com.au
Phone:
+61 2 9600 7444
Register
Login
Shop Parts
Service Tools
Cart
info@mrespares.com.au
Phone:
+61 2 9600 7444
Register
Login
Shop Parts
Service Tools
Cart
Home
About
About MRE Spare Parts
Ordering Information
Terms of Trade
Privacy Policy
Delivery Policy
Returns
Feedback
Faq
Contact
Home
>
FDTA140KXE4R FAN ASSY AND CABINET
PRINT
FDTA140KXE4R FAN ASSY AND CABINET
FDTA140KXE4R FAN ASSY AND CABINET
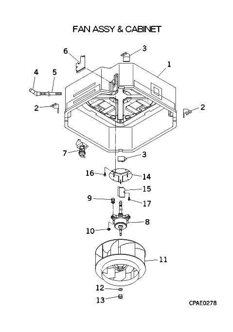
Parts List
Key:
Instock.
Nilstock.
Contact MRE.
Check the parts position number [ ] matching with the drawing.
Login
to view prices.
[1-3]
Contact
PJA100A700
CABINET A Z
Contact
[2]
Contact
PJA032A700
HOLDER Z
Contact
[3]
Contact
PJA032A700A
HOLDER Z
Contact
[4]
Out of Stock
SSA422C086
SOCKET
[4-5]
In Stock
PJA422C600A
SOCKET ASSY
Show Image
[5]
In Stock
SSA423A092A
HOSE,DRAIN
Show Image
[6]
Contact
PJA132A700
LID Z
Contact
[7]
In Stock
PJA451A510C
PUMP
[8]
In Stock
SSA512T133
FAN MOTOR
[9]
In Stock
SSA941C309A
CUSION RUBBER
Notes:
1pc only - SOLD INDIVIDUALLY
[10]
In Stock
SSA914C015
NUT FLANGE
Notes:
1pc
Show Image
[11]
Out of Stock
SSA431J015A
FAN,TURBO
Notes:
OUT OF PRODUCTION - BLOWER WHEEL
[12]
In Stock
W205H10
WASHER
Notes:
1pc ONLY
Show Image
[13]
In Stock
N001A10
NUT
Notes:
1pc
Show Image
[14]
Contact
PJA116A705
BRACKET MOT
Contact
Substitute:
PJA116A711
[15]
Contact
PJA119A302
PLATE
Contact
[16]
Contact
SSA911D202
BOLT & WASHER,CRS
Contact
Notes:
M5X12, 1pc ONLY, M5X12
[17]
In Stock
W011D04X010
TAP-SCREW
Notes:
4X10, ***ONE SCREW ONLY*** 1pc ONLY
Show Image
[18]
In Stock
PSA006A039
HOSE SET, DRAIN
Notes:
ACCESSORIES
[19]
In Stock
V300Y38
CLAMP
Notes:
ACCESSORIES, CLAMP
Show Image
FDTA140KXE4R FAN ASSY AND CABINET quantity
Add to cart
SKU:
FDTA140KXE4R FAN ASSY AND CABINET
Category:
Uncategorised
Home
About
About MRE Spare Parts
Ordering Information
Terms of Trade
Privacy Policy
Delivery Policy
Returns
Feedback
Faq
Contact
Login
0
0
Your Cart
Your cart is empty
Calculate Shipping