FDTA112KXE4 CONTROL AND PARTS SET

FDTA112KXE4 CONTROL AND PARTS SET

Parts List

Key:
Instock.
Nilstock.
Contact MRE.

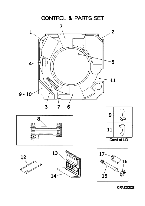
Check the parts position number [ ] matching with the drawing. Login to view prices.

[1] Out of Stock
PJA505A110ZH
PWB ASSY
Notes: OUT OF PRODUCTION - POWER BOARD - SMALLER PC BOARD - NEAR TRANSFORMER Show Image
PJA505A110ZH
[1-8] Contact
PJA501A702G
Contact
[2] In Stock
PJA505A137ZF
PWB ASSY (CONTROL)
Notes: PLUGS INTO SENSORS & DRAIN MOTOR (FM PLUGS INTO BOTH PWB"s)
[3] Contact
SSA561B677C
BLOCK,TERMI
Contact
Notes: TB1
[4] In Stock
SSA554A455
TRANSFORMER
Notes: TRI
[5] In Stock
PJA551A700
SENSOR
Notes: THI-A,R, sensor has 2 plugs - 1 black that plugs into pc board and 1 red plug for sensor Show Image
PJA551A700
[6] In Stock
PJA142A703
LID BOX Z
PJA142A703
[7] Contact
SSA561B683A
BLOCK TERMI
Contact
Notes: TB2
[8] Contact
PJA504A708
WIRING(FM)
Contact
Notes: PWB(CONT.) CNM2,PWB(POWER) CNM1-FMI CNF
[9-10] Contact
PJA142A704F
LID ASSY,CO
Contact
[10] Contact
PJA011G705
LABEL,WIRING
Contact
[11] In Stock
PJA142A702
LID BOX Z
[12] Contact
PJA142A504A
COVER
Contact
[13-14] Out of Stock
PJA502A700AC
WALL CONTROLLER
Substitute: OUT OF PRODUCTION Notes: RC-E1, OUT OF PRODUCTION - RC-E1 / RC-E1R - 3 WIRE, X-Y-Z
[14] Contact
PJA129A708
COVER Z
Contact
[15] In Stock
PSA006A039
HOSE SET, DRAIN
[15-17] Out of Stock
PJA006A317
PARTS SET
Notes: INCL.CLAMP,HOSE INSULATION SET HOSE,DRAIN
[16] In Stock
V300Y38
CLAMP
Notes: CLAMP Show Image
V300Y38
[17] In Stock
SSA153B016BA
INSULATION,PIPE¯¿½
SSA153B016BA
[18] Contact
PJA011F704H
Contact
SKU: FDTA112KXE4 CONTROL AND PARTS SET Category:
0
    0
    Your Cart
    Your cart is empty
      Calculate Shipping