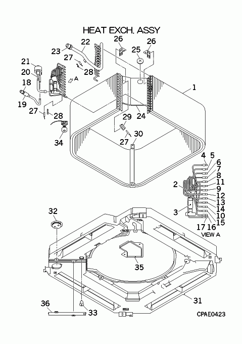
FDT90KXZE1/F HEAT EXCH. ASSY

FDT90KXZE1/F HEAT EXCH. ASSY

Parts List

Key:
Instock.
Nilstock.
Contact MRE.

Check the parts position number [ ] matching with the drawing. Login to view prices.

[1-29] In Stock
PJF301A035F
HEAT EXCH ASSY(AIR
[2] Contact
SSA315A306AN
DISTRIBUTOR
Contact
[2-17] Contact
PJF315A023B
DISTRIBUTOR ASSY
Contact
Notes: !
[3] In Stock
SSA357A051D
STRAINER
SSA357A051D
[4] Contact
PJF315B014
CAPILLARY
Contact
Notes: !D3.0XD4.0 L160
[5] Contact
PJF315B014A
CAPILLARY
Contact
Notes: !D3.0XD4.0 L140
[6] Contact
PJF315B014B
CAPILLARY
Contact
Notes: !D3.0XD4.0 L120
[7] Contact
PJF315B014C
CAPILLARY
Contact
Notes: !D3.0XD4.0 L140
[8] Contact
PJF315B014D
CAPILLARY
Contact
Notes: !D3.0XD4.0 L180
[9] Contact
PJF315B014G
CAPILLARY
Contact
Notes: !D2.8XD4.0 L180
[10] Contact
PJF315B014L
CAPILLARY
Contact
Notes: !D2.6XD4.0 L220
[11] Contact
PJF315B014AF
CAPILLARY
Contact
Notes: !D3.0XD4.0 L180
[12] Contact
PJF315B014AH
CAPILLARY
Contact
Notes: !D2.8XD4.0 L220
[13] Contact
PJF315B014AJ
CAPILLARY
Contact
Notes: !D2.2XD4.0 L220
[14] Contact
PJF315B014AK
CAPILLARY
Contact
Notes: !D2.2XD4.0 L220
[15] Contact
PJF315B014AM
CAPILLARY
Contact
Notes: !D2.6XD4.0 L220
[16] Contact
PJF315B014AN
CAPILLARY
Contact
Notes: !D2.0XD4.0 L220
[17] Contact
PJF315B014AP
CAPILLARY
Contact
Notes: !D1.6XD4.0 L500
[18] In Stock
SSA323F088
UNION(SLD)
Notes: LENGTH 2.6CM Show Image
SSA323F088
[18-19] Contact
PJF321A044C
PIPING ASSY
Contact
[19] In Stock
SSA357A051F
STRAINER
Notes: LENGTH 5.5CM Show Image
SSA357A051F
[20] In Stock
SSA387F045A
VALVE EXPA
Notes: SM, EEVC
[21] In Stock
SSA382F229AD
SOLENOID
Notes: FOR SM
[22-23] Contact
PJF315D018J
HEADER ASSY,GAS
Contact
Notes: !
[23] Contact
SSA323F092F
UNION,SOLDER
Contact
[24-25] Contact
PJF141A007
PLATE ASSY,BAFFLE
Contact
[25] In Stock
S751W25X
GROMMET
Notes: D30 Show Image
S751W25X
[26] In Stock
PJF116A040
BRACKET(PLATE,SIDE)
[27] In Stock
PJF551A002K
SENSOR ASSY(TEMP)
Notes: THI-R1,2,3, THI-R1,2,3 - includes three refrigerant (coil) sensors Show Image
PJF551A002K
[28] Out of Stock
RKJ941F001
SPRING LEAF
Substitute: PSA941F001 Notes: FOR THI-R2,3 Show Image
RKJ941F001
[29] Contact
PSA937B001
CLAMP,SENSOR
Contact
Notes: FOR THI-R1
[30] In Stock
PJF116A041A
BRACKET(HEAT EX)
[31-33] In Stock
PJF454A007B
PAN ASSY,DRAIN
[32] In Stock
PJF129A086
CAP & NOZZLE(DRAIN
[33] In Stock
AHT326A002B
PLUG
[34] In Stock
PJF536A003
FLOAT SWITCH
Notes: FS, FLOAT SWITCH/ LENGTH 143.5CM Show Image
PJF536A003
[35] Contact
PJF142A007A
COVER
Contact
[36] In Stock
PJF129A083
COVER(DP)
SKU: FDT90KXZE1/F HEAT EXCH. ASSY Category:
0
    0
    Your Cart
    Your cart is empty
      Calculate Shipping