Skip to content
info@mrespares.com.au
Phone:
+61 2 9600 7444
Register
Login
Shop Parts
Service Tools
Cart
info@mrespares.com.au
Phone:
+61 2 9600 7444
Register
Login
Shop Parts
Service Tools
Cart
Home
About
About MRE Spare Parts
Ordering Information
Terms of Trade
Privacy Policy
Delivery Policy
Returns
Feedback
Faq
Contact
Home
>
FDT60VD CONTROL AND PARTS SET
PRINT
FDT60VD CONTROL AND PARTS SET
FDT60VD CONTROL AND PARTS SET
Parts List
Key:
Instock.
Nilstock.
Contact MRE.
Check the parts position number [ ] matching with the drawing.
Login
to view prices.
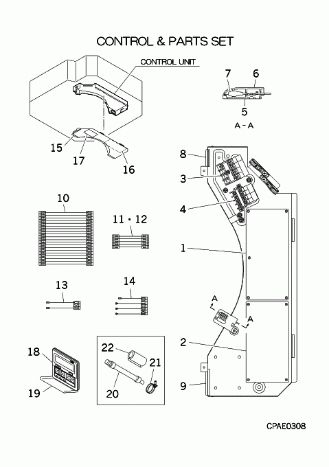
[1]
In Stock
PJA505A200CA
PWB ASSY (POWER)
Notes:
POWER BOARD CLOSEST TO TERMINAL BLOCKS (plugs to fan motor & drain pump)
Show Image
[1-14]
Contact
PJF501A007CJ
CONTROL UNIT
Contact
Notes:
NOT AVAILABLE
[2]
In Stock
PJA505A201JA
PWB ASSY (CONTROL)
Notes:
CONTROL PCB (DOES NOT CONNECT TO FAN MOTOR)
Show Image
[3]
In Stock
SSA561B702
BLOCK,TERMINAL
Notes:
TB1
Show Image
[4]
In Stock
SSA561B720A
BLOCK,TERMINAL
Notes:
TB2
Show Image
[5]
Contact
PJF129A014
BASE,HOLDER
Contact
[6]
Contact
PJF129A015
COVER.HOLDER
Contact
[7]
In Stock
PSA551A008AB
SENSOR
Notes:
THI-A, THI-A RETURN AIR. OTHER SENSORS MAY BE IN HEAT EXCH. ASSY SECTOR
Show Image
[8]
In Stock
S751W25X
GROMMET
Notes:
D30
Show Image
[9]
In Stock
SSA947B120
GROMMET
Notes:
LENGTH 5.5CM
Show Image
[10]
In Stock
PJF504A001
WIRING(LM)
Notes:
CNJ2-CNJ PWB, CNJ2-CNJ PWB‚ / LENGTH 15.5CM - ***NOT LOUVER MOTOR HARNESS***
Show Image
[11]
In Stock
PJF504A003
WIRING(PWB)
Notes:
CNW4 PWB-CNW1 PWB, CNW4 PWB-CNW1 PWB‚ / LENGTH 9CM
Show Image
[12]
In Stock
PJF504A003A
WIRING(PWB)
Notes:
CNW3 PWB-CNW2 PWB, CNW3 PWB-CNW2 PWB/ LENGTH 9CM
Show Image
[13]
Out of Stock
PJF504A006F
WIRING(TB,XY)
Notes:
TB2 X,TB2 Y- CNB PWB
[14]
Contact
PJF504A007
WIRING(TB,POWER)
Contact
Notes:
CONT E,TB1 1,TB1 2,TB1 3- CNWO PWB, CONT E,TB1 1,TB1 2,TB1 3-CNW0 PWB
[15]
In Stock
PJF142A006
LID,CONTROL BOX
[16]
Contact
PJF011G012
LABEL,WIRING
Contact
[17]
Contact
PSA011H032
LABEL,NOTICE
Contact
[18-19]
Contact
PJA502A800BC
CONTROL ASSY,REMOTE
Contact
Substitute:
RC-E5
Notes:
RC-E4, "RC-E5" SALES ITEM, REPLACES RC-E3 AND RC-E4
[19]
Contact
PJA129A708
COVER Z
Contact
[20]
In Stock
SSA423A101
HOSE,DRAIN
Show Image
[20-22]
Contact
PJF008A001
PARTS SET
Contact
[21]
In Stock
V300Y38
CLAMP
Notes:
CLAMP
Show Image
[22]
In Stock
PJA153B008
INSULATION,PIPE
[23]
Contact
PJF011F022F
LABEL,MODEL NAME
Contact
FDT60VD CONTROL AND PARTS SET quantity
Add to cart
SKU:
FDT60VD CONTROL AND PARTS SET
Category:
Uncategorised
Home
About
About MRE Spare Parts
Ordering Information
Terms of Trade
Privacy Policy
Delivery Policy
Returns
Feedback
Faq
Contact
Login
0
0
Your Cart
Your cart is empty
Calculate Shipping