FDQSA36KXE5R HEAT EXCH. ASSY

FDQSA36KXE5R HEAT EXCH. ASSY

Parts List

Key:
Instock.
Nilstock.
Contact MRE.

Check the parts position number [ ] matching with the drawing. Login to view prices.

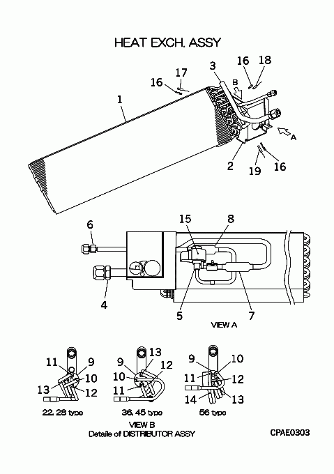
[1] In Stock
PJC311A117A
HEAT EX AIR
[2] Contact
PFA141A200J
PLATE ASSY
Contact
[3-4] Contact
PJC315D128B
HEADER ASSY,GAS
Contact
[4] Contact
SSA323F012G
UNION,SOLDER
Contact
Notes: GAS
[5] In Stock
SSA387F047B
EXP VALVE
Notes: SM, Expansion Valve Body Show Image
SSA387F047B
[6] Contact
SSA323F006
UNION
Contact
[7] In Stock
SSA357A059B
STRAINER
[8] In Stock
SSA357A059T
STRAINER
[9] Out of Stock
SSA315A252A
DISTRIBUTOR
[9-13] Contact
PJC315A121
DISTRIBUTOR ASSY
Contact
[10] Contact
PJC315B149
CAPILLARY
Contact
Notes: !D2.0XD4.0 L180
[11] Contact
PJC315B150
CAPILLARY
Contact
Notes: !D3.0XD4.0 L120
[12] Contact
PJC315B151
CAPILLARY
Contact
Notes: !D2.8XD4.0 L180
[13] Contact
PJC315B152
CAPILLARY
Contact
Notes: !D2.0XD4.0 L340
[15] In Stock
SSA382F228J
COIL SOLENOID
Notes: FOR SM, LENGTH 40CM Show Image
SSA382F228J
[16] Out of Stock
RKJ941F001
SPRING LEAF
Substitute: PSA941F001 Notes: FOR SENSOR Show Image
RKJ941F001
[17] In Stock
PJA551A005
SENSOR
Notes: THI-R Show Image
PJA551A005
[18] In Stock
PJA551A005AW
SENSOR
Notes: THI-R2(CAPILLARY) Show Image
PJA551A005AW
[19] In Stock
PJA551A005AY
SENSOR
Notes: THI-R3(GAS HEADER) Show Image
PJA551A005AY
SKU: FDQSA36KXE5R HEAT EXCH. ASSY Category:
0
    0
    Your Cart
    Your cart is empty
      Calculate Shipping