Skip to content
info@mrespares.com.au
Phone:
+61 2 9600 7444
Register
Login
Shop Parts
Service Tools
Cart
info@mrespares.com.au
Phone:
+61 2 9600 7444
Register
Login
Shop Parts
Service Tools
Cart
Home
About
About MRE Spare Parts
Ordering Information
Terms of Trade
Privacy Policy
Delivery Policy
Returns
Feedback
Faq
Contact
Home
>
FDKNA251 HEAT EXCH. AND FAN
PRINT
FDKNA251 HEAT EXCH. AND FAN
FDKNA251 HEAT EXCH. AND FAN
Parts List
Key:
Instock.
Nilstock.
Contact MRE.
Check the parts position number [ ] matching with the drawing.
Login
to view prices.
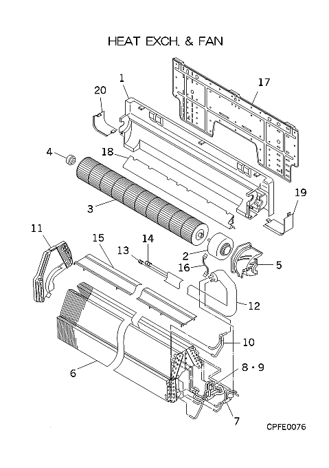
[1]
Contact
PHA111A202A
BASE ASSY
Contact
[2]
In Stock
SSA512T149
MOTOR,DC
Notes:
FOR IMPELLER, COMES WITH HARNESS
Show Image
[3]
In Stock
SSA431G040A
IMPELLER
Notes:
FAN BARREL
[4]
In Stock
SSA923C136
BEARING, PLANE
Notes:
END BEARING
Show Image
[5]
Out of Stock
RKT129A400
COVER,MOTOR
[6-11]
Contact
PHA301A220
HEAT EX,AIR
Contact
[6-15]
Out of Stock
PHA301A219A
HEAT EX,AIR
[7]
Contact
RKT315D402
HEADER ASSY
Contact
[8-9]
Contact
PHA304A204
DISTRIBUTOR
Contact
[9]
Contact
PHA315A207
DISTRIBUTOR
Contact
[10]
Contact
PHA321A344
PIPE ASSY
Contact
[11]
Contact
RKT129A401
BRACKET
Contact
[12-14]
Contact
PHA321A332
PIP (GAS)
Contact
[13]
Contact
SSA323F084
UNION
Contact
Notes:
LIQ.
[14]
In Stock
SSA323F012F
UNION SOLDR
Notes:
GAS, UNION SOLDR/ LENGTH 3.5CM
Show Image
[15]
Contact
RKT129A402
PLATE BAFF
Contact
[16]
Contact
RKS504A601
HARNESS
Contact
Substitute:
OUT OF PRODUCTION
Notes:
FOR FAN MOTOR, OUT OF PRODUCTION
[17]
Contact
RKT032A400
PLATE,INSTA
Contact
[18]
Out of Stock
PHA132A200
LID ASSY
[19]
Out of Stock
RKT132A401
LID,R
[20]
In Stock
RKT132A402
LID,L
Notes:
Grey RKT132A402 for White RKT132A402B
Show Image
FDKNA251 HEAT EXCH. AND FAN quantity
Add to cart
SKU:
FDKNA251 HEAT EXCH. AND FAN
Category:
Uncategorised
Home
About
About MRE Spare Parts
Ordering Information
Terms of Trade
Privacy Policy
Delivery Policy
Returns
Feedback
Faq
Contact
Login
0
0
Your Cart
Your cart is empty
Calculate Shipping