FDFUA28KXE4 PANEL AND HEAT EXCH.

FDFUA28KXE4 PANEL AND HEAT EXCH.

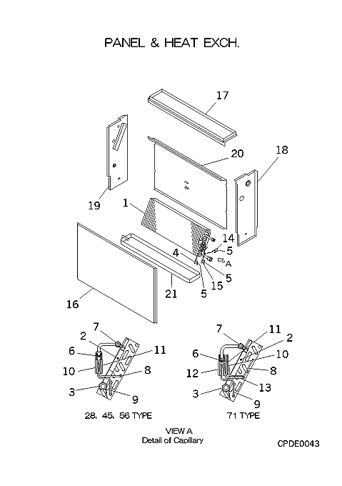
Parts List

Key:
Instock.
Nilstock.
Contact MRE.

Check the parts position number [ ] matching with the drawing. Login to view prices.

[1] Contact
PFA311A212B
HEAT EXCH
Contact
[1-15] Contact
PFA311A613A
HEAT EX,AIR
Contact
[2-3] Contact
PFA315D204K
HEADER ASSY
Contact
[3] Contact
SSA323F001C
UNION(SLD)
Contact
[4] In Stock
PJA551A005C
SENSOR
Notes: THI-R1(U-BEND), THI-R Show Image
PJA551A005C
[5] Out of Stock
RKJ941F001
SPRING LEAF
Substitute: PSA941F001 Notes: FOR THI-R Show Image
RKJ941F001
[6] Contact
SSA315A252C
DISTRIBUTOR
Contact
[6-11] Contact
PFA315B580B
CAPILLARY
Contact
[7] Contact
SSA323F012A
UNION
Contact
[8] Contact
PFA315B581
CAPILLARY
Contact
Notes: !D1.5XD2.5 L150
[9] Contact
PFA315B582
CAPILLARY
Contact
Notes: !D1.5XD2.5 L150
[10] Contact
PFA315B313A
CAPILARY,AS
Contact
Notes: !D2.6XD4.0 L135
[11] Contact
PFA315B313
CAPILLARY,A
Contact
Notes: !D2.6XD4.0 L135
[14] In Stock
PJA551A005BB
SENSOR
Notes: THI-R2(CAPILLARY), KEEP OLD SENSOR - SOME SENSORS PLUG INTO EXTENSION LEAD Show Image
PJA551A005BB
[15] In Stock
PJA551A005BC
SENSOR
Notes: THI-R3(GAS HEADER), KEEP OLD SENSOR - SOME SENSORS PLUG INTO EXTENSION LEAD/ LENGTH 137.5CM Show Image
PJA551A005BC
[16] Contact
PFA122A216
PANEL FRONT
Contact
[16-17] Contact
PFA102A203
PANEL ASSY
Contact
[17] In Stock
PFA435A205
GRILLE
[18] Contact
PFA123A204
PANEL,SIDE
Contact
Notes: RIGHT
[19] Contact
PFA123A205
PANEL,SIDE
Contact
Notes: LEFT
[20] Contact
PFA125A202
PANEL,REAR
Contact
[21] Contact
PFA454A220
PAN,DRAIN
Contact
[22] Contact
PFA100A201F
BASE ASSY
Contact
SKU: FDFUA28KXE4 PANEL AND HEAT EXCH. Category:
0
    0
    Your Cart
    Your cart is empty
      Calculate Shipping