FDFU56KXE6F/F PANEL AND HEAT EXCH

FDFU56KXE6F/F PANEL AND HEAT EXCH

Parts List

Key:
Instock.
Nilstock.
Contact MRE.

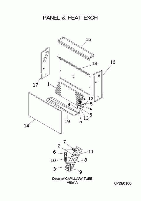
Check the parts position number [ ] matching with the drawing. Login to view prices.

[1] Contact
PFA311A212
HEAT EXCH
Contact
Notes: !
[1-13] Contact
PFA311A614H
HEAT EXCH ASSY(AIR
Contact
[2-3] Contact
PFA315D204T
HEADER ASSY
Contact
Notes: !
[3] In Stock
SSA323F012B
UNION
SSA323F012B
[4] Contact
PJA551A005CJ
Contact
Notes: THI-R1
[5] In Stock
PSA941F001
SPRING LEAF
Notes: FOR THI-R, 1pc ONLY Show Image
PSA941F001
[6] Contact
SSA315A252C
DISTRIBUTOR
Contact
Notes: !
[6-11] Contact
PFA315B299G
CAPILLARY ASSY
Contact
[7] Contact
SSA323F012A
UNION
Contact
[8] Contact
PFA315B311
CAPILARY,AS
Contact
Notes: !D1.5XD2.5 L150
[9] Contact
PFA315B312
CAPILARY,AS
Contact
Notes: !D1.5XD2.5 L150
[10] Contact
PFA315B313A
CAPILARY,AS
Contact
Notes: !D2.6XD4.0 L135
[11] Contact
PFA315B313
CAPILLARY,A
Contact
Notes: !D2.6XD4.0 L135
[12] Contact
PJA551A005CK
Contact
Notes: THI-R2
[13] Contact
PSA551A007BA
Contact
Notes: THI-R3
[14] Contact
PFA122A216B
PANEL,FRONT
Contact
[15] In Stock
PFA435A205
GRILLE
[16] Contact
PFA123A204A
PANEL ASSY,SIDE(R)
Contact
Notes: RIGHT
[17] Contact
PFA123A205A
PANEL ASSY,SIDE(L)
Contact
Notes: LEFT
[18] Contact
PFA125A202B
PANEL,REAR
Contact
[19] Contact
PFA454A220
PAN,DRAIN
Contact
SKU: FDFU56KXE6F/F PANEL AND HEAT EXCH Category:
0
    0
    Your Cart
    Your cart is empty
      Calculate Shipping