FDFL45KXE6 CONTROL AND PARTS SET

FDFL45KXE6 CONTROL AND PARTS SET

Parts List

Key:
Instock.
Nilstock.
Contact MRE.

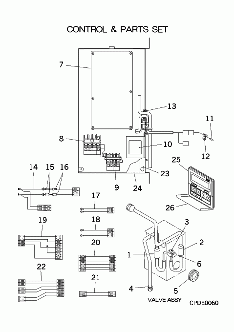
Check the parts position number [ ] matching with the drawing. Login to view prices.

[1] In Stock
SSA357A059B
STRAINER
[1-4] Contact
PFA387F224J
VALVE ASSY,EXPANSI
Contact
[1-6] Contact
PFA387F223J
VALVE ASSY(EXP)
Contact
[2] Out of Stock
SSA357A005P
STRAINER
SSA357A005P
[3] In Stock
SSA387F047
VALVE EXP
Notes: SM, EEV - VALVE BODY Show Image
SSA387F047
[4] Contact
SSA323F006
UNION
Contact
[5] In Stock
S751W30X
GROMMET V14
Notes: D35, ***SOLD INDIVIDUALLY*** Show Image
S751W30X
[6] In Stock
SSA382F210V
COIL
Notes: FOR SM Show Image
SSA382F210V
[7] In Stock
PJA505A193ZD
PWB
PJA505A193ZD
[7-24] Contact
PGD501A002BF
CONTROL UNIT
Contact
[8] In Stock
SSA561B702C
BLOCK,TERMINAL
Notes: TB1
[9] In Stock
SSA561B720A
BLOCK,TERMINAL
Notes: TB2 Show Image
SSA561B720A
[10] In Stock
SSA554A487
TRANSFORMER
Notes: TR Show Image
SSA554A487
[11] In Stock
PJA551A010
SENSOR ASSY
Notes: THI-A Show Image
PJA551A010
[11-12] In Stock
PJD551A001
SENSOR
Notes: THI-A Air temp sensor
[12] Contact
SSA937C290
CLIP
Contact
Notes: FOR THI-A
[13] Contact
SSA947B014A
GROMMET
Contact
[14-16] Contact
PJB504A234B
WIRING(TB,POWER)
Contact
[15] In Stock
SSA564A116G
FUSE(CURRENT)
Notes: 3.15A, 3.15 AMP FUSE Show Image
SSA564A116G
[16] In Stock
RWC564B002
HOLDER,FUSE
RWC564B002
[17] Contact
PJB504A235D
WIRING(TB,AB)
Contact
Notes: TB2 A,TB2 B-CNK1 PWB, TB2 A,TB2 B- CNK1 PWB
[18] Contact
PJB504A228C
WIRING(TB,XY)
Contact
Notes: TB2 X,TB2 Y-CNB PWB, TB2 X,TB2 Y- CNB PWB
[19] Contact
PGD504A001
WIRING(FM)
Contact
Notes: CNF1-PWB CNM3, CNF1- PWB CNM3
[20] Contact
PJB504A236K
WIRING(EEV)
Contact
Notes: CNA2 EEV-CNA PWB, CNA2 EEV- CNA PWB
[21] Contact
PJD504A070H
WIRING(THI-A)
Contact
Notes: CNH PWB-CNH2 THI-A, CNH PWB- CNH2 THI-A
[22] Contact
PJB504A232H
WIRING(THI-R)
Contact
Notes: CNN3,CNN4,CNN5-CNN PWB, CNN3,CNN4,CNN5- CNN PWB
[23-24] Contact
PGD142A003A
LID ASSY(CONTROL)
Contact
[24] Contact
PGD011G002
LABEL,WIRING
Contact
[25-26] Contact
PJA502A800BC
CONTROL ASSY,REMOTE
Contact
Substitute: RC-E5 Notes: RC-E3, "RC-E5" SALES ITEM, REPLACES RC-E3 AND RC-E4
[26] Contact
PJA129A708
COVER Z
Contact
[27] Contact
PGD011F006AB
Contact
SKU: FDFL45KXE6 CONTROL AND PARTS SET Category:
0
    0
    Your Cart
    Your cart is empty
      Calculate Shipping