Skip to content
info@mrespares.com.au
Phone:
+61 2 9600 7444
Register
Login
Shop Parts
Service Tools
Cart
info@mrespares.com.au
Phone:
+61 2 9600 7444
Register
Login
Shop Parts
Service Tools
Cart
Home
About
About MRE Spare Parts
Ordering Information
Terms of Trade
Privacy Policy
Delivery Policy
Returns
Feedback
Faq
Contact
Home
>
FDENA251 PANEL ASSY
PRINT
FDENA251 PANEL ASSY
FDENA251 PANEL ASSY
Parts List
Key:
Instock.
Nilstock.
Contact MRE.
Check the parts position number [ ] matching with the drawing.
Login
to view prices.
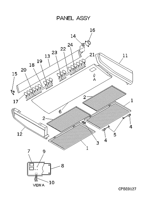
[1]
In Stock
PFA435A601A
GRILLE,AIR INLET
[1-5]
In Stock
PFA435A600D
GRILLE ASSY
[2]
In Stock
PFA437A600
FILTER AIR
Notes:
1pc ONLY
[3]
In Stock
PFA129A614A
STOPPER
Show Image
[4]
In Stock
PFA116A200
FIXTURE
Show Image
[5]
In Stock
PFA129A207
SHAFT
[6]
Contact
PFA122A601A
PANEL FRONT
Contact
[6-10]
Contact
PFA122A607C
PANEL ASSY,
Contact
[7]
Contact
PFA129A609
ORNAMENT P
Contact
[7-10]
Out of Stock
PFA503A600A
CONTROL ASSY
Substitute:
PFA505A218A
Notes:
OUT OF PRODUCTION
[8]
In Stock
PJA505A113A
PWB RCN-T-
Notes:
DISPLAY/ RECEIVER BOARD-DOES NOT COME WITH HARNESS
[9]
Out of Stock
PJA943A700D
BOTTON P0S
[10]
In Stock
PFA504A603
WIRING ASSY
Notes:
LENGTH 36.5CM
Show Image
[11]
In Stock
PFA123A608B
PANEL,SIDE
Notes:
RIGHT
[12]
In Stock
PFA123A608C
PANEL,SIDE
Notes:
LEFT
[13]
In Stock
PFA436A616
LOUVER ASSY
[14]
In Stock
PFA129A605
STOPPER
Notes:
1pc ONLY
Show Image
[15]
In Stock
PFA129A606
SUPPORT L
Show Image
[16]
In Stock
PFA512T002
MOTOR ASSY
Notes:
FOR LOUVER
Show Image
[17]
In Stock
PFA436A603
LOUVER
Notes:
1pc ONLY
Show Image
[17-20]
In Stock
PFA436A606
LOUVER
Notes:
LEFT
[18]
Contact
PFA129A612
PLATE LOUV
Contact
Notes:
1pc ONLY
[19]
Contact
PFA129A610A
PLATE CONN
Contact
[20]
Contact
PFA129A610
PLATE CONN
Contact
[21]
In Stock
PFA436A603
LOUVER
Notes:
1pc ONLY
Show Image
[21-24]
Contact
PFA436A606A
LOUVER
Contact
Notes:
RIGHT
[22]
Contact
PFA129A612
PLATE LOUV
Contact
Notes:
1pc ONLY
[23]
Contact
PFA129A610A
PLATE CONN
Contact
[24]
Contact
PFA129A610
PLATE CONN
Contact
FDENA251 PANEL ASSY quantity
Add to cart
SKU:
FDENA251 PANEL ASSY
Category:
Uncategorised
Home
About
About MRE Spare Parts
Ordering Information
Terms of Trade
Privacy Policy
Delivery Policy
Returns
Feedback
Faq
Contact
Login
0
0
Your Cart
Your cart is empty
Calculate Shipping