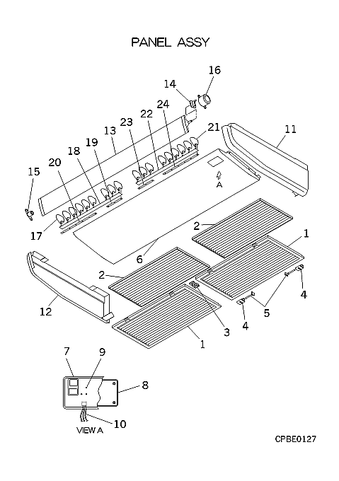
FDEN60VF/1 PANEL ASSY

FDEN60VF/1 PANEL ASSY

Parts List

Key:
Instock.
Nilstock.
Contact MRE.

Check the parts position number [ ] matching with the drawing. Login to view prices.

[1] In Stock
PFA435A601A
GRILLE,AIR INLET
[1-5] In Stock
PFA435A600D
GRILLE ASSY
[2] In Stock
PFA437A600
FILTER AIR
Notes: W580XD267(T9.5)
[3] In Stock
PFA129A614A
STOPPER
PFA129A614A
[4] Contact
PFA116A200B
FIXTURE
Contact
[5] In Stock
PFA129A207
SHAFT
[6] Contact
PFA122A601D
PANEL,FRONT
Contact
[7] Contact
PFA129A609A
PANEL,ORNAMENT
Contact
[7-10] Contact
PFA503A600K
CONTROL ASSY
Contact
[8] In Stock
PJZ505A046A
PWB ASSY
Notes: PCB for wireless kit
[9] Out of Stock
PJA943A700D
BOTTON P0S
[10] In Stock
PFA504A620A
WIRING ASSY
Notes: CNB2- CNB WIRELESS PWB
[11] In Stock
PFA123A608B
PANEL,SIDE
Notes: RIGHT
[12] In Stock
PFA123A608C
PANEL,SIDE
Notes: LEFT
[13] In Stock
PFA436A616
LOUVER ASSY
[14] In Stock
PFA129A605
STOPPER
PFA129A605
[15] In Stock
PFA129A606
SUPPORT L
PFA129A606
[16] In Stock
SSA512T067
MOTOR,STEPPING
Notes: LOUVER MOTOR Show Image
SSA512T067
[17] In Stock
PFA436A603
LOUVER
PFA436A603
[17-20] In Stock
PFA436A606B
LOUVER ASSY
Notes: LEFT, LEFT/ LENGTH 53CM Show Image
PFA436A606B
[18] Contact
PFA129A612A
PLATE LOUV
Contact
[19] Contact
PFA129A610A
PLATE CONN
Contact
[20] Contact
PFA129A610
PLATE CONN
Contact
[21] In Stock
PFA436A603
LOUVER
PFA436A603
[21-24] In Stock
PFA436A606C
LOUVER ASSY
Notes: RIGHT, RIGHT/ LENGTH 53CM Show Image
PFA436A606C
[22] Contact
PFA129A612B
PLATE(LOUVER)
Contact
[23] Contact
PFA129A610A
PLATE CONN
Contact
[24] Contact
PFA129A610
PLATE CONN
Contact
SKU: FDEN60VF/1 PANEL ASSY Category:
0
    0
    Your Cart
    Your cart is empty
      Calculate Shipping