FDEN50V FAN ASSY AND CABINET

FDEN50V FAN ASSY AND CABINET

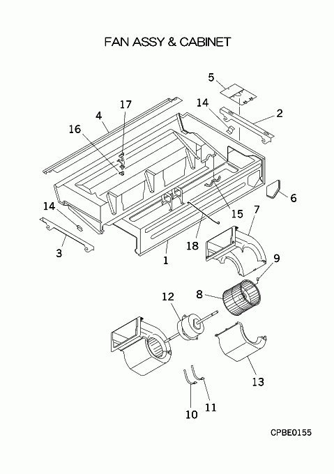
Parts List

Key:
Instock.
Nilstock.
Contact MRE.

Check the parts position number [ ] matching with the drawing. Login to view prices.

[1-6] Contact
PFA100A602G
CABINET ASSY
Contact
[2] In Stock
PFA032A600
HOLDER
Notes: RIGHT Show Image
PFA032A600
[3] In Stock
PFA032A600A
HOLDER
Notes: LEFT Show Image
PFA032A600A
[4] Contact
PFA122A606A
PANEL,FRONT(U)
Contact
[5] In Stock
PFA132A603
LID
PFA132A603
[6] In Stock
PFA132A601
LID U
[7] Out of Stock
PFA433B601
CASING
Notes: UPPER
[8-9] In Stock
SSA431D077
IMPELLER
[9] Contact
SSA912F002DF
SCREW,SET(S
Contact
Notes: M6X8, 1pc ONLY
[10] In Stock
PFA116A207B
BRACKET, MOTOR
Notes: LEFT Show Image
PFA116A207B
[11] In Stock
PFA116A207C
BRACKET, MOTOR
Notes: RIGHT Show Image
PFA116A207C
[12] In Stock
SSA511T207
MOTOR,AC
[13] Contact
PFA433B601A
CASING
Contact
Notes: LOWER
[14] Contact
PFA116A605
BRACKT
Contact
[15] Contact
PFA116A609
LID
Contact
[16] Out of Stock
PFA129A608
SUPPORT
[17] Out of Stock
PFA129A600
SUPPORT
[18] Contact
PFA962C600
WIRE
Contact
SKU: FDEN50V FAN ASSY AND CABINET Category:
0
    0
    Your Cart
    Your cart is empty
      Calculate Shipping