FDEA112KXE4A FAN ASSY AND CABINET

FDEA112KXE4A FAN ASSY AND CABINET

Parts List

Key:
Instock.
Nilstock.
Contact MRE.

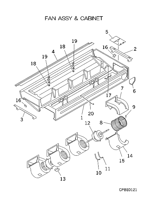
Check the parts position number [ ] matching with the drawing. Login to view prices.

[1-6] Contact
PFA100A601C
CABINET ASSY
Contact
[2] In Stock
PFA032A600
HOLDER
Notes: RIGHT Show Image
PFA032A600
[3] In Stock
PFA032A600A
HOLDER
Notes: LEFT Show Image
PFA032A600A
[4] In Stock
PFA122A604
PANEL FRONT
[5] In Stock
PFA132A603
LID
PFA132A603
[6] In Stock
PFA132A601
LID U
[7] In Stock
PSA099A616
CASING ASSY
Notes: UPPER, UPPER & LOWER
[8-9] In Stock
SSA431D081A
IMPELLER
Notes: FAN BARREL Show Image
SSA431D081A
[9] Contact
SSA912F002DF
SCREW,SET(S
Contact
Notes: M6X8, 1pc ONLY
[10] In Stock
PFA116A207B
BRACKET, MOTOR
Notes: RIGHT, LEFT Show Image
PFA116A207B
[11] In Stock
PFA116A207C
BRACKET, MOTOR
Notes: LEFT Show Image
PFA116A207C
[12] In Stock
SSA511T209
MOTOR,AC
[13] In Stock
SSA552A095A
CAPACITOR
Notes: CFI2 Show Image
SSA552A095A
[14-15] Contact
PFA433B603C
CASING
Contact
Notes: LOWER
[15] Contact
RSA011H005B
LABEL,NOTICE
Contact
[16] Contact
PFA116A605
BRACKT
Contact
[17] Contact
PFA116A609
LID
Contact
[18] Out of Stock
PFA129A608
SUPPORT
[19] Out of Stock
PFA129A600
SUPPORT
[20] Contact
PFA962C600
WIRE
Contact
SKU: FDEA112KXE4A FAN ASSY AND CABINET Category:
0
    0
    Your Cart
    Your cart is empty
      Calculate Shipping