FDE71VG/E FAN ASSY AND CABINET

FDE71VG/E FAN ASSY AND CABINET

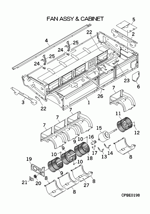
Parts List

Key:
Instock.
Nilstock.
Contact MRE.

Check the parts position number [ ] matching with the drawing. Login to view prices.

[1-6] Contact
PFA100A607
CABINET ASSY
Contact
Notes: Not suitable for this model
[2] In Stock
PFA032A600B
HOLDER
Notes: RIGHT
[3] In Stock
PFA032A600C
HOLDER
Notes: LEFT
[4] In Stock
PFA122A608
PANEL,FRONT(U)
[5] In Stock
PFA132A603
LID
PFA132A603
[6] In Stock
PFA132A601
LID U
[7] Contact
PFA433B607
CASING(U)
Contact
Notes: UPPER
[8] Contact
PFA433B608
CASING(L)
Contact
Notes: LOWER
[9-10] In Stock
SSA431D097
IMPELLER
[10] In Stock
SSA912F015
SET,SCREW(SCH-CP)
Notes: M6X8, 1pc ONLY
[11-12] In Stock
SSA431D097A
IMPELLER
[12] In Stock
SSA912F015
SET,SCREW(SCH-CP)
Notes: M6X8, 1pc ONLY
[13] In Stock
PJG116A063
BRACKET(MOTOR)
Notes: LEFT Show Image
PJG116A063
[14] In Stock
PFA116A207H
BRACKET
Notes: RIGHT Show Image
PFA116A207H
[15] In Stock
SSA512T145J
MOTOR,DC
[16-17] In Stock
PJH272A001
COUPLING
[17] In Stock
SSA912F015
SET,SCREW(SCH-CP)
Notes: M6X8, 1pc ONLY
[18] In Stock
PJH271A002
SHAFT
[19] In Stock
PFA116A645
BRACKET(BEARING)
[20] In Stock
SSA923C136
BEARING, PLANE
Notes: END BEARING Show Image
SSA923C136
[21] In Stock
PJH116A006
BRACKET (BEARING)
[22] Contact
PFA116A605A
BRACKET
Contact
[23] Contact
PFA116A609
LID
Contact
[24] Out of Stock
PFA129A608
SUPPORT
[25] Out of Stock
PFA129A600
SUPPORT
[26] Contact
PFA962C601
WIRE
Contact
[27] In Stock
PSA011H046
LABEL,NOTICE
SKU: FDE71VG/E FAN ASSY AND CABINET Category:
0
    0
    Your Cart
    Your cart is empty
      Calculate Shipping