FDE140KXE6F/1 FAN ASSY AND CABINET

FDE140KXE6F/1 FAN ASSY AND CABINET

Parts List

Key:
Instock.
Nilstock.
Contact MRE.

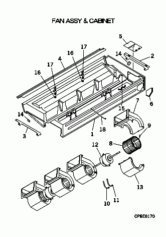
Check the parts position number [ ] matching with the drawing. Login to view prices.

[1-6] Contact
PFA100A604C
CABINET ASSY
Contact
[2] In Stock
PFA032A600
HOLDER
Notes: RIGHT Show Image
PFA032A600
[3] In Stock
PFA032A600A
HOLDER
Notes: LEFT Show Image
PFA032A600A
[4] In Stock
PFA122A604B
PANEL, FRONT
[5] In Stock
PFA132A603
LID
PFA132A603
[6] In Stock
PFA132A601
LID U
[7] In Stock
PSA099A616
CASING ASSY
Notes: UPPER, UPPER & LOWER
[8-9] In Stock
SSA431D081A
IMPELLER
Notes: FAN BARREL Show Image
SSA431D081A
[9] Contact
SSA912F002DF
SCREW,SET(S
Contact
Notes: M6X8, 1pc ONLY
[10] In Stock
PJG116A063
BRACKET(MOTOR)
Notes: LEFT Show Image
PJG116A063
[11] In Stock
PFA116A207H
BRACKET
Notes: RIGHT Show Image
PFA116A207H
[12] In Stock
SSA511T208A
MOTOR,AC
[13] In Stock
PSA099A616
CASING ASSY
Notes: LOWER, UPPER & LOWER
[14] Contact
PFA116A605A
BRACKET
Contact
[15] Contact
PFA116A609
LID
Contact
[16] Out of Stock
PFA129A608
SUPPORT
[17] Out of Stock
PFA129A600
SUPPORT
[18] Contact
PFA962C600
WIRE
Contact
SKU: FDE140KXE6F/1 FAN ASSY AND CABINET Category:
0
    0
    Your Cart
    Your cart is empty
      Calculate Shipping