Skip to content
info@mrespares.com.au
Phone:
+61 2 9600 7444
Register
Login
Shop Parts
Service Tools
Cart
info@mrespares.com.au
Phone:
+61 2 9600 7444
Register
Login
Shop Parts
Service Tools
Cart
Home
About
About MRE Spare Parts
Ordering Information
Terms of Trade
Privacy Policy
Delivery Policy
Returns
Feedback
Faq
Contact
Home
>
FDE112KXE6F/1 FAN ASSY AND CABINET
PRINT
FDE112KXE6F/1 FAN ASSY AND CABINET
FDE112KXE6F/1 FAN ASSY AND CABINET
Parts List
Key:
Instock.
Nilstock.
Contact MRE.
Check the parts position number [ ] matching with the drawing.
Login
to view prices.
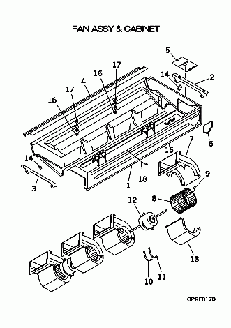
[1-6]
Contact
PFA100A604C
CABINET ASSY
Contact
[2]
In Stock
PFA032A600
HOLDER
Notes:
RIGHT
Show Image
[3]
In Stock
PFA032A600A
HOLDER
Notes:
LEFT
Show Image
[4]
In Stock
PFA122A604B
PANEL, FRONT
[5]
In Stock
PFA132A603
LID
Show Image
[6]
In Stock
PFA132A601
LID U
[7]
In Stock
PSA099A616
CASING ASSY
Notes:
UPPER, UPPER & LOWER
[8-9]
In Stock
SSA431D081A
IMPELLER
Notes:
FAN BARREL
Show Image
[9]
Contact
SSA912F002DF
SCREW,SET(S
Contact
Notes:
M6X8, 1pc ONLY
[10]
In Stock
PJG116A063
BRACKET(MOTOR)
Notes:
LEFT
Show Image
[11]
In Stock
PFA116A207H
BRACKET
Notes:
RIGHT
Show Image
[12]
In Stock
SSA511T209A
MOTOR,AC
[13]
In Stock
PSA099A616
CASING ASSY
Notes:
LOWER, UPPER & LOWER
[14]
Contact
PFA116A605A
BRACKET
Contact
[15]
Contact
PFA116A609
LID
Contact
[16]
Out of Stock
PFA129A608
SUPPORT
[17]
Out of Stock
PFA129A600
SUPPORT
[18]
Contact
PFA962C600
WIRE
Contact
FDE112KXE6F/1 FAN ASSY AND CABINET quantity
Add to cart
SKU:
FDE112KXE6F/1 FAN ASSY AND CABINET
Category:
Uncategorised
Home
About
About MRE Spare Parts
Ordering Information
Terms of Trade
Privacy Policy
Delivery Policy
Returns
Feedback
Faq
Contact
Login
0
0
Your Cart
Your cart is empty
Calculate Shipping