FDCVA502HENR CONTROL AND PARTS SET

FDCVA502HENR CONTROL AND PARTS SET

Parts List

Key:
Instock.
Nilstock.
Contact MRE.

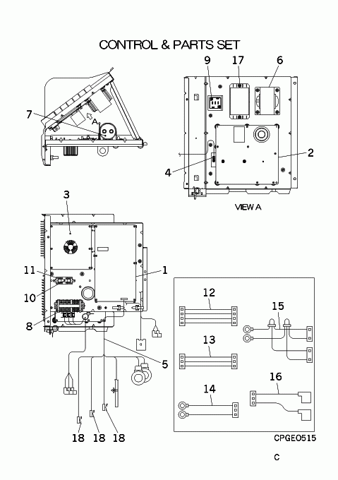
Check the parts position number [ ] matching with the drawing. Login to view prices.

[1-17] Contact
PCA501A139A
CONTROL UNIT
Contact
Notes: !‚ NOT AVAILABLE
[1] In Stock
PCA505A089ZH
PWB ASSY CONTROL
Notes: PWB1 CONTROL, CONTROL & FM BOARD Show Image
PCA505A089ZH
[2] Out of Stock
PCA505A094A
PWB ASSY
Substitute: OUT OF PRODUCTION Notes: PWB2, OUT OF PRODUCTION - INVERTER Show Image
PCA505A094A
[3] In Stock
PCA505A127B
PWB ASSY (NOISE.FILTER)
Notes: PWB3 NOISE FILTER Show Image
PCA505A127B
[4] Out of Stock
SSA551A192L
SENSOR
Substitute: SSA551A256L Notes: THO-TR, THO-IPM THO-TR THO-AF Show Image
SSA551A192L
[5] Out of Stock
PCA551A031C
SENSOR XP
Substitute: OUT OF PRODUCTION Notes: THO-O,S,D,R Show Image
PCA551A031C
[6] In Stock
SSA554B090
REACTOR
[7] In Stock
SSA552F601
CAPACITOR
Notes: C1, 450v 2700mf, COMPRESSOR CAPACITOR Show Image
SSA552F601
[8] In Stock
SSA561B693C
BLOCK TERMINAL
Notes: TB Show Image
SSA561B693C
[9] Out of Stock
SSA555A662
DIODE
Substitute: PCA008A276A Notes: DIODE STACK/DIODE MODULE/DIODE BRIDGE Show Image
SSA555A662
[10] In Stock
PCA504A300
FUSE ASSY
Notes: 30A, 30AMP FUSE WITH SOLDED WIRES (FOR FUSE HOLDER SEE SSA564B044)
[11] In Stock
SSA564B044
HOLDER, FUSE
SSA564B044
[12] In Stock
PCA504A242L
WIRING ASSY
Notes: PWB1 CNI1-PWB2 CNI2
[13] In Stock
PCA504A242M
WIRING ASSY
Notes: PWB1 CNI3-PWB2 CNI4
[14] In Stock
PCA504A242P
WIRING ASSY
Notes: TB1 2,TB1 3-PWB1 CNW2 Show Image
PCA504A242P
[15] In Stock
PCA504A242AC
WIRING ASSY
Notes: C1 +1,C1 --PWB1 CNA1,PWB1 CNA2 Show Image
PCA504A242AC
[16] In Stock
PCA504A242AK
WIRING ASSY
Notes: PWB1 CNH-63H 1,63H 2 Show Image
PCA504A242AK
[17] In Stock
SSA556J035A
IC (ACTIVE CONVERTER)
Notes: A/F MODULE (Active Filter Module) - Also known as ACT/IPM Show Image
SSA556J035A
[18] Out of Stock
RKJ941F001
SPRING LEAF
Substitute: PSA941F001 Notes: FOR SENSOR Show Image
RKJ941F001
[19] Contact
PSC011G528A
LABEL,WIRING
Contact
Notes: !
[20] Contact
PSA011F991M
LABEL,MODEL NAME
Contact
Notes: !
SKU: FDCVA502HENR CONTROL AND PARTS SET Category:
0
    0
    Your Cart
    Your cart is empty
      Calculate Shipping