FDCP280HKXRE2A PANEL ASSY

FDCP280HKXRE2A PANEL ASSY

Parts List

Key:
Instock.
Nilstock.
Contact MRE.

Check the parts position number [ ] matching with the drawing. Login to view prices.

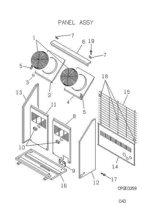
[1] Out of Stock
PCB131A005
GUARD FAN
[2-3] Contact
PCB433A005N
BELLMOUTH
Contact
Notes: LEFT
[3] Contact
RCG011H004
LABEL
Contact
[4] Contact
PCB433A005A
BELLMOUTH
Contact
Notes: RIGHT
[5] Out of Stock
PCB116A046F
BRACKET SUS
[6] Contact
PCB124A003
TOP PANEL
Contact
[7] Out of Stock
PCB116A046D
BRACKET SUS
[8] Contact
PCB122A018
FRONT PANEL
Contact
[9] In Stock
PCB142A112
COVER
PCB142A112
[10] Out of Stock
SSA944B002F
HANDLE
[11] Contact
PCB122A019
FRONT PANEL
Contact
[12] Contact
PCB123A022
SIDE PANEL
Contact
Notes: RIGHT
[13] Contact
PCB123A024
SIDE PANEL
Contact
Notes: LEFT
[14] Contact
PCB125A004
REAR PANEL
Contact
[15] Contact
PCB131A004
GUARD FIN
Contact
[16] Contact
PCB111A027S
BASE ASSY
Contact
[17] In Stock
SSA913D006A
SCREW 4X12
Notes: M4x12, 1pc ONLY
[18] Contact
PCA941G002A
CUSHION RU
Contact
[19] Contact
SSA911D207CA
BOLT 8X16SU
Contact
Notes: M8X16
SKU: FDCP280HKXRE2A PANEL ASSY Category:
0
    0
    Your Cart
    Your cart is empty
      Calculate Shipping