FDCA504HKXE4BR PANEL ASSY

FDCA504HKXE4BR PANEL ASSY

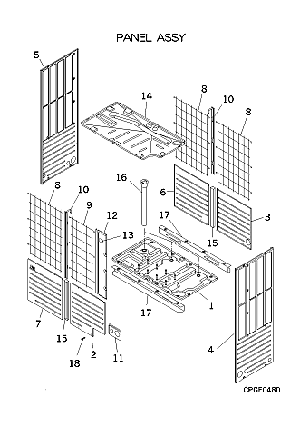
Parts List

Key:
Instock.
Nilstock.
Contact MRE.

Check the parts position number [ ] matching with the drawing. Login to view prices.

[1] Contact
PCB111A061C
BASE ASSY
Contact
[2] In Stock
PCB122A077R
PANEL FRONT
[3] Out of Stock
PCB122A077S
PANEL FRONT
[4] Contact
PCB123A084
PANEL SIDE
Contact
[5] Contact
PCB123A084A
PANEL SIDE
Contact
[6] In Stock
PCB122A077T
PANEL FRONT
[7] Out of Stock
PCB122A077V
PANEL FRONT
Substitute: OUT OF PRODUCTION Notes: OUT OF PRODUCTION
[8] Contact
PCB131A024
GUARD FAN
Contact
[9] Contact
PCB131A024A
GUARD FAN
Contact
[10] Contact
PCB115A098
FRAWE
Contact
[11] Contact
PCB142A334
COVER
Contact
[12-13] Contact
PCB122A079Z
PANEL,FRONT
Contact
[13] In Stock
RCG011H004C
LABEL,NOTICE
RCG011H004C
[14] Contact
PCB454A018C
PAN ASSY,
Contact
[15] Contact
PCB115A090
FRAWE
Contact
[16] Contact
PCB423B001F
HOSE DRAIN
Contact
[17] Out of Stock
PCB115A091
STIFFENER
[18] In Stock
SSA913D020
SCREW TAP
Notes: M5X10, 1pc ONLY, INCLUDES WASHER Show Image
SSA913D020
SKU: FDCA504HKXE4BR PANEL ASSY Category:
0
    0
    Your Cart
    Your cart is empty
      Calculate Shipping