Skip to content
info@mrespares.com.au
Phone:
+61 2 9600 7444
Register
Login
Shop Parts
Service Tools
Cart
info@mrespares.com.au
Phone:
+61 2 9600 7444
Register
Login
Shop Parts
Service Tools
Cart
Home
About
About MRE Spare Parts
Ordering Information
Terms of Trade
Privacy Policy
Delivery Policy
Returns
Feedback
Faq
Contact
Home
>
FDCA301HENR CONTROL AND PARTS SET
PRINT
FDCA301HENR CONTROL AND PARTS SET
FDCA301HENR CONTROL AND PARTS SET
Parts List
Key:
Instock.
Nilstock.
Contact MRE.
Check the parts position number [ ] matching with the drawing.
Login
to view prices.
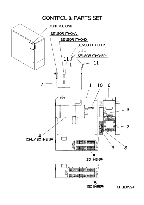
[1]
In Stock
PCA505A065ZP
PWB ASSY
Notes:
ONLY FOR SUPPLY PARTS
[1-10]
Contact
PCA501A128GA
CONTROL UNIT
Contact
Notes:
!, NOT AVAILABLE
[2]
In Stock
SSA521A193A
CONTACTOR
Notes:
52C, COMPRESSOR CONTACTOR
Show Image
[2-14]
Contact
PCA008A235A
PARTS SET
Contact
Notes:
!
[3]
Out of Stock
SSA552A163C
CAPACITOR,RUN
Substitute:
OUT OF PRODUCTION
Notes:
CFO, RUNNING CAPACITOR FOR FAN MOTOR
Show Image
[4]
In Stock
SSA552A176
CAPACITOR,R
Notes:
CC
Show Image
[5]
In Stock
SSA561B711A
BLOCK,TERMI
Notes:
TB
Show Image
[6]
Out of Stock
SSA554A453
TRANSFORMER
Substitute:
OUT OF PRODUCTION
Notes:
TRO, OUT OF PRODUCTION
Show Image
[7]
In Stock
PCA551A025B
SENSOR ASSY
Notes:
THO-R1,R2,D,A
Show Image
[8]
In Stock
E200Y10C
FUSE
Notes:
F 10A, 10 AMP
Show Image
[9]
In Stock
SSA564B013
HOLDER.FUSE
Show Image
[10]
Contact
SSA564A143C
FUSE(CURRENT)
Contact
Notes:
F1 3.15A, 3.15A
[11]
Out of Stock
RKJ941F001
SPRING LEAF
Substitute:
PSA941F001
Notes:
FOR THO-R1,R2,D
Show Image
[13]
Contact
PSC011G477B
LABEL,WIRING
Contact
Notes:
!
[14]
Contact
PSA011F991A
LABEL,MODEL NAME
Contact
Notes:
!
FDCA301HENR CONTROL AND PARTS SET quantity
Add to cart
SKU:
FDCA301HENR CONTROL AND PARTS SET
Category:
Uncategorised
Home
About
About MRE Spare Parts
Ordering Information
Terms of Trade
Privacy Policy
Delivery Policy
Returns
Feedback
Faq
Contact
Login
0
0
Your Cart
Your cart is empty
Calculate Shipping