Skip to content
info@mrespares.com.au
Phone:
+61 2 9600 7444
Register
Login
Shop Parts
Service Tools
Cart
info@mrespares.com.au
Phone:
+61 2 9600 7444
Register
Login
Shop Parts
Service Tools
Cart
Home
About
About MRE Spare Parts
Ordering Information
Terms of Trade
Privacy Policy
Delivery Policy
Returns
Feedback
Faq
Contact
Home
>
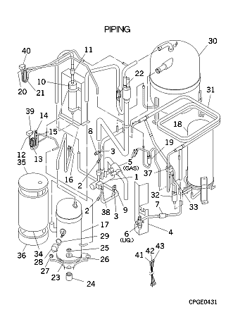
FDCA224HKXE4A PIPING
PRINT
FDCA224HKXE4A PIPING
FDCA224HKXE4A PIPING
Parts List
Key:
Instock.
Nilstock.
Contact MRE.
Check the parts position number [ ] matching with the drawing.
Login
to view prices.
[1]
In Stock
SSA382C075
VALVE 4WAY
Notes:
20S, 20s - 4 way valve
[2]
In Stock
SSA327B067
VALVE,SERVICE
Show Image
[3]
Out of Stock
SSA327B067A
VALVE,SERVI
[4]
Out of Stock
PCB116A479
BRACKET
[5]
In Stock
SSA381A748A
VALVE,SERVICE
Notes:
GAS
Show Image
[6]
Out of Stock
PCB381A076A
VALVE,SERVICE
Notes:
LIQ.
[7]
In Stock
SSA357A007A
STRAINER
Show Image
[8]
In Stock
SSA551D022C
SENSOR LP
Notes:
LOW PRESSURE TRANSDUCER
Show Image
[9]
In Stock
SSA551D024A
SENSOR HP
Notes:
HIGH PRESSURE TRANSDUCER, HIGH PRESSURE TRANSDUCER - PSH
Show Image
[10]
Contact
SSA325A033C
PIPE SHELL
Contact
[10-11]
In Stock
PCB354A031B
SEPARATOR
[10-16]
Contact
PCB354A030G
SEPARATOR ASSY,OIL
Contact
[11]
In Stock
SSA385A018A
VALVE CHECK
[12]
In Stock
SSA382A250
2WAY, VALVE
Notes:
SV
Show Image
[12-15]
Out of Stock
PCB321D938A
PIPE L
Substitute:
PCB321F595A
[13]
Contact
PCB315B800
CAPILLARY
Contact
Notes:
!D2.2XD3.2 L350
[14]
Contact
PCB315B801A
CAPILLARY
Contact
Notes:
!D1.1XD3.2 L500
[15]
In Stock
SSA357A008BW
STRAINER
[16]
Out of Stock
SSA532A032GR
SWITCH HP
Substitute:
SSA532A085GR
Notes:
63H1-1,2
Show Image
[17]
In Stock
AGT201A728DP
COMPRESSOR
Notes:
GT-C5150ND75, ***COMPRESSORS CANNOT BE RETURNED***
[18]
Out of Stock
SSA352A105P
RECEIVER ASSY
Substitute:
SSA352A121P
Notes:
KXE4A & KXRE4A FUSIBLE PLUG PCB006A113Y/SSA327A008
[19]
In Stock
SSA357A024
STRAINER
Show Image
[20]
In Stock
SSA382A250
2WAY, VALVE
Notes:
SV
Show Image
[20-21]
Contact
PCB382A153B
VALVE ASSY(
Contact
[21]
Contact
PCB315B817
CAPILLARY
Contact
Notes:
!D1.6XD3.2 L500, !D1.3XD3.2 L500
[22]
In Stock
PCB315B303D
CAPILLARY
Notes:
!D2.2XD3.2 L300
Show Image
[23]
In Stock
PCA541B031
HEATER ASSY(CRANK)
Show Image
[24]
In Stock
SSA941C356
CUSHION,RUBBER
Notes:
1pc only
Show Image
[25]
In Stock
SSA914C033
NUT
Notes:
1pc
[26]
Contact
SSA915H039A
WASHER
Contact
Substitute:
SSA915H042
Notes:
1pc ONLY
[27]
Contact
SSA914C003
NUT
Contact
Notes:
1pc
[28]
Out of Stock
AGR947K002
TERMINAL C
[29]
Out of Stock
AGR932C001
GASKET
Substitute:
OUT OF PRODUCTION
[30]
In Stock
SSA351A228A
ACCUMULATOR
[31]
In Stock
PCB303A011
HEAT LIQ
[32]
In Stock
SSA357A024C
STRAINER
Show Image
[33]
In Stock
SSA387F051
VALVE,BODY(EXP)¯¿½
Notes:
EEV, 'BODY' ONLY. Does NOT include coil
[34]
Contact
PCB151D088
INSULATION
Contact
[35]
In Stock
PCA151D034
INSULATO CO
[36]
Contact
PCB151D098
INSULATION
Contact
[37]
In Stock
SSA382F210Z
COIL,SOLENOID
Notes:
FOR EEVSC, LENGTH 206CM
Show Image
[38]
In Stock
PCB382F092
COIL ASSY,S
Notes:
FOR 20S
Show Image
[39]
Out of Stock
PCB382F092C
COIL ASSY,S
Notes:
FOR SV6, SV6 SOLENOID
[40]
In Stock
PCB382F092F
COIL ASSY,S
Notes:
FOR SV1
Show Image
[41]
Out of Stock
PCB504A231DG
HARNESS ASSY
Notes:
!U
Show Image
[42]
Out of Stock
PCB504A231DH
HARNESS ASSY
Notes:
!V
Show Image
[43]
In Stock
PCB504A231DJ
HARNESS ASSY
Notes:
!W
Show Image
FDCA224HKXE4A PIPING quantity
Add to cart
SKU:
FDCA224HKXE4A PIPING
Category:
Uncategorised
Home
About
About MRE Spare Parts
Ordering Information
Terms of Trade
Privacy Policy
Delivery Policy
Returns
Feedback
Faq
Contact
Login
0
0
Your Cart
Your cart is empty
Calculate Shipping