Skip to content
info@mrespares.com.au
Phone:
+61 2 9600 7444
Register
Login
Shop Parts
Service Tools
Cart
info@mrespares.com.au
Phone:
+61 2 9600 7444
Register
Login
Shop Parts
Service Tools
Cart
Home
About
About MRE Spare Parts
Ordering Information
Terms of Trade
Privacy Policy
Delivery Policy
Returns
Feedback
Faq
Contact
Home
>
FDCA160VS HEAT EXCH. ASSY
PRINT
FDCA160VS HEAT EXCH. ASSY
FDCA160VS HEAT EXCH. ASSY
Parts List
Key:
Instock.
Nilstock.
Contact MRE.
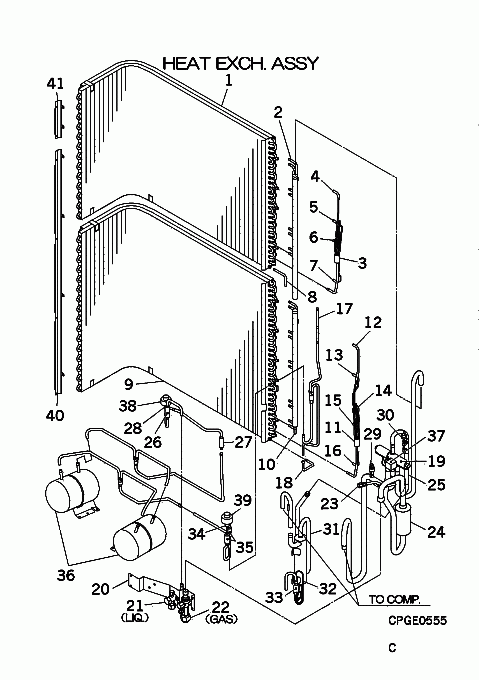
Check the parts position number [ ] matching with the drawing.
Login
to view prices.
[1]
Contact
PCA311A053B
HEAT EXCH(AIR)
Contact
[1-8]
Contact
PCA301A123B
HEAT EXCH ASSY(AIR
Contact
Notes:
UPPER
[2]
Contact
PCA315D184
HEADER ASSY,GAS
Contact
[3]
Contact
SSA315A237A
DISTRIBUTOR
Contact
Substitute:
SSA315A252A
[3-7]
In Stock
PCA315A090
DISTRIBUTOR
Show Image
[4]
Contact
PCA315B870
CAPILLARY ASSY(1)
Contact
Notes:
!D2.2XD4.0 L300
[5]
Contact
PCA315B871
CAPILLARY ASSY(2)
Contact
Notes:
!D2.2XD4.0 L300
[6]
Contact
PCA315B872
CAPILLARY ASSY(3)
Contact
Notes:
!D2.2XD4.0 L300
[7]
Contact
PCA315B873
CAPILLARY ASSY(4)
Contact
Notes:
!D2.6XD4.0 L300
[8]
Contact
PCA321C654
PIPE
Contact
[9]
Contact
PCA311A054B
HEAT EXCH(AIR)
Contact
[9-18]
Contact
PCA301A124B
HEAT EXCH ASSY(AIR
Contact
Notes:
LOWER
[10]
Contact
PCA315D186
HEADEAR ASSY,GAS
Contact
[11]
Contact
SSA315A237
DISTRIBUTOR
Contact
Substitute:
SSA315A252
[11-16]
In Stock
PCA315A089A
DISTRIBUTOR
Show Image
[12]
Contact
PCA315B858
CAPILLARY ASSY(1)
Contact
Notes:
!D2.8XD4.0 L300, !D2.8XD4.0 L300¯¿½
[13]
Contact
PCA315B859
CAPILLARY ASSY(2)
Contact
Notes:
!D2.8XD4.0 L300, !D2.8XD4.0 L300¯¿½
[14]
Contact
PCA315B860
CAPILLARY ASSY(3)
Contact
Notes:
!D2.8XD4.0 L300, !D2.8XD4.0 L300¯¿½
[15]
Contact
PCA315B861
CAPILLARY ASSY(4)
Contact
Notes:
!D2.8XD4.0 L300, !D2.8XD4.0 L300¯¿½
[16]
Contact
PCA315B862
CAPILLARY ASSY(5)
Contact
Notes:
!D2.8XD4.0 L300, !D2.8XD4.0 L300¯¿½
[17]
Contact
PCA321C747A
PIPE ASSY
Contact
[18]
Contact
PCA321C655
PIPE
Contact
[19]
In Stock
SSA382C096A
VALVE, S(4WAY)
Notes:
20S,20SL, Reversing Valve Body
[20]
Contact
PCA116A234
BRACKET
Contact
[21]
In Stock
PCB381A077B
SERVICE VALVE
Notes:
LIQ.
Show Image
[22]
In Stock
SSA381A886
VALVE,SERVICE(3/4")
Notes:
GAS, GAS - SUCTION 3/4 INCH
[23]
In Stock
SSA327B067
VALVE,SERVICE
Show Image
[24]
Contact
SSA325A001CL
PIPE,SHELL
Contact
[25]
In Stock
SSA385A018A
VALVE CHECK
[26]
In Stock
SSA357A059B
STRAINER
[27]
In Stock
SSA357A005AA
STRAINER
Show Image
[28]
In Stock
SSA387F044
EXP VALVE
Notes:
EEVC or SM1, EEV Body
Show Image
[29]
In Stock
SSA551D022C
SENSOR LP
Notes:
LOW PRESSURE TRANSDUCER
Show Image
[30]
In Stock
SSA532A083
SWITCH HP
Notes:
63H1, (HIGH PRESSURE SWITCH) - 63H1
Show Image
[31-33]
In Stock
PCA304A259A
PIPING ASSY(OIL)
[32]
Contact
PCA315B903
CAPILLARY
Contact
Notes:
!D1.2XD2.5 L500
[32-33]
Contact
PCA315B902
CAPILLARY ASSY(OIL
Contact
[33]
In Stock
SSA357A059B
STRAINER
[34]
In Stock
SSA387F044A
EXP VAL XP
Notes:
EEV or SM2, EXPANSION VALVE BODY ONLY
Show Image
[35]
In Stock
SSA357A059T
STRAINER
[36]
In Stock
SSA352B052
RECEIVER
Notes:
1pc ONLY, SOLD INDIVIDUALLY
[37]
In Stock
PCB382F107ZA
COIL ASSY, SOLENOID
Notes:
FOR 20S, FOR 20S‚ - Solenoid for Reversing Valve
[38]
In Stock
SSA382F212A
SOLENOID
Notes:
FOR EEV(COOL) or SM1, COOLING/ LENGTH 78CM
[39]
In Stock
SSA382F229J
SOLENOID XP
Notes:
FOR EEVH or SM2, Red Plug
Show Image
[40]
Contact
PCA141A101
PLATE,BAFFLE
Contact
[41]
Contact
PCA141A102
PLATE,BAFFLE
Contact
FDCA160VS HEAT EXCH. ASSY quantity
Add to cart
SKU:
FDCA160VS HEAT EXCH. ASSY
Category:
Uncategorised
Home
About
About MRE Spare Parts
Ordering Information
Terms of Trade
Privacy Policy
Delivery Policy
Returns
Feedback
Faq
Contact
Login
0
0
Your Cart
Your cart is empty
Calculate Shipping