Skip to content
info@mrespares.com.au
Phone:
+61 2 9600 7444
Register
Login
Shop Parts
Service Tools
Cart
info@mrespares.com.au
Phone:
+61 2 9600 7444
Register
Login
Shop Parts
Service Tools
Cart
Home
About
About MRE Spare Parts
Ordering Information
Terms of Trade
Privacy Policy
Delivery Policy
Returns
Feedback
Faq
Contact
Home
>
FDCA160VS FAN AND COMPRESSOR
PRINT
FDCA160VS FAN AND COMPRESSOR
FDCA160VS FAN AND COMPRESSOR
Parts List
Key:
Instock.
Nilstock.
Contact MRE.
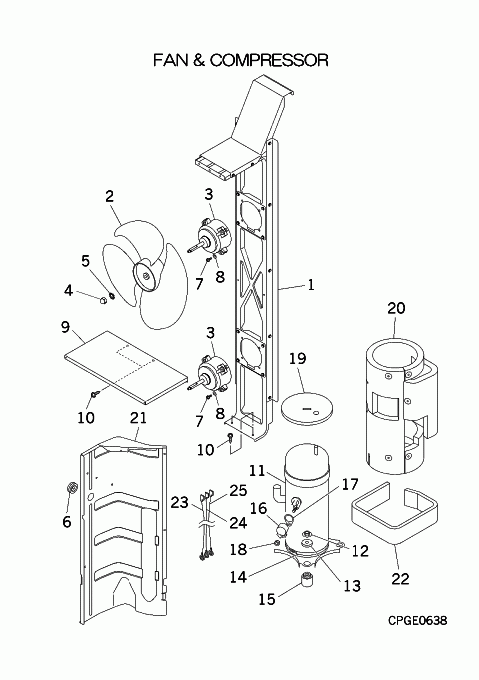
Check the parts position number [ ] matching with the drawing.
Login
to view prices.
[1]
Contact
PCA116A109M
BASE,MOTOR
Contact
[2]
In Stock
SSA431B228
FAN, PROPELLER
Notes:
CONDENSER FAN BLADE
[3]
In Stock
SSA512T076BA
MOTOR,DC
[4]
In Stock
SSA914H014A
NUT
Notes:
1pc
Show Image
[5]
In Stock
SSA915F002D
WASHER
Notes:
1pc ONLY
Show Image
[6]
In Stock
S751W30X
GROMMET V14
Notes:
D35, ***SOLD INDIVIDUALLY***
Show Image
[7]
In Stock
SSA913C031A
SCREW TAP
Notes:
1pc ONLY
Show Image
[8]
In Stock
W200H06
WASHER
Notes:
1pc ONLY
Show Image
[9]
Contact
PCA141A096
PLATE,BAFFLE
Contact
[10]
In Stock
SSA913D020
SCREW TAP
Notes:
M5X10, 1pc ONLY, INCLUDES WASHER
Show Image
[11]
In Stock
AGT201A727DN
COMPRESSOR ASSY
Notes:
GTC5150ND70K, ***COMPRESSORS CANNOT BE RETURNED***
[12]
In Stock
SSA914C033
NUT
Notes:
1pc
[13]
In Stock
SSA941C289
CUSHION RU
Notes:
UPPER
Show Image
[14]
Contact
PCA541B021AN
HEATER ASSY(CRANK)
Contact
[15]
In Stock
SSA941C285G
CUSHION RUB
Notes:
LOWER, LENGTH 6CM
Show Image
[16]
In Stock
AGT947K100
COVER TERMINAL
Show Image
[17]
In Stock
AGT932C100
GASKET COVER
Show Image
[18]
In Stock
SSA914C016
NUT
Notes:
1pc
Show Image
[19]
Contact
PCA151D034A
INSULATO CO
Contact
Notes:
UPPER
[20]
Contact
PCA151D075A
INSULATION,COMP
Contact
[21]
Contact
PCA141A080K
PLATE ASSY,BAFFLE
Contact
[22]
Contact
PCB151D107A
INSULATION,COMP
Contact
[23]
In Stock
PCA504A247DJ
HARNESS ASSY
Notes:
!U
Show Image
[24]
In Stock
PCA504A247DK
HARNESS ASSY
Notes:
!V
Show Image
[25]
In Stock
PCA504A247DL
HARNESS ASSY
Notes:
!W
FDCA160VS FAN AND COMPRESSOR quantity
Add to cart
SKU:
FDCA160VS FAN AND COMPRESSOR
Category:
Uncategorised
Home
About
About MRE Spare Parts
Ordering Information
Terms of Trade
Privacy Policy
Delivery Policy
Returns
Feedback
Faq
Contact
Login
0
0
Your Cart
Your cart is empty
Calculate Shipping